Programmable PCM Codec With Microphone Amps & Speaker Driver
Texas Instruments
RSS
Sample
Przejdź do sklepu »
- Darmowa próbka
- MPN:
- TLV320AIC1103
- Producent:
- TEXAS INSTRUMENTS
- Dodany do bazy:
- Ostatnio widziany:
Sugerowane produkty dla progmable
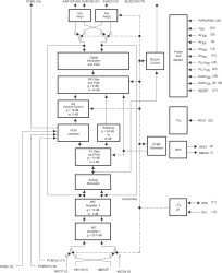
The PCM codec is designed to perform transmit encoding analog/digital (A/D) conversion, receive decoding digital/analog (D/A) conversion, and transmit and receive filtering for voice-band communications systems. The device operates in either the 15-bit linear or 8-bit companded (u-law or A-Law) mode, which is selectable through the I2C interface. The PCM codec generates its own internal clocks from a 2.048-MHz master clock input.
Elecena nie prowadzi sprzedaży elementów elektronicznych, ani w niej nie pośredniczy.
Produkt pochodzi z oferty sklepu Texas Instruments