elecena.pl

8-Bit, 392 kSPS ADC Parallel Out, Microprocessor Peripheral, On-Chip Track-and-Hold, Single Channels

Texas Instruments

8-Bit, 392 kSPS ADC Parallel Out, Microprocessor Peripheral, On-Chip Track-and-Hold, Single Channels RSS Sample
  • Darmowa próbka
MPN:
TLC0820A
Producent:
TEXAS INSTRUMENTS
Dodany do bazy:
Ostatnio widziany:

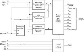
The TLC0820AC and the TLC0820AI are Advanced LinCMOSTM 8-bit analog-to-digital converters each consisting of two 4-bit flash converters, a 4-bit digital-to-analog converter, a summing (error) amplifier, control logic, and a result latch circuit. The modified flash technique allows low-power integrated circuitry to complete an 8-bit conversion in 1.18 us over temperature. The on-chip track-and-hold circuit has a 100-ns sample window and allows these devices to convert continuous analog signals having slew rates of up to 100 mV/us without external sampling components. TTL-compatible 3-state output drivers and two modes of operation allow interfacing to a variety of microprocessors. Detailed information on interfacing to most popular microprocessors is readily available from the factory.

Elecena nie prowadzi sprzedaży elementów elektronicznych, ani w niej nie pośredniczy.

Produkt pochodzi z oferty sklepu