elecena.pl

Dual-Channel, 11-Bit, 200-MSPS Analog-to-Digital Converter (ADC)

Texas Instruments

Dual-Channel, 11-Bit, 200-MSPS Analog-to-Digital Converter (ADC) RSS Sample
  • Darmowa próbka
MPN:
ADS58C28
Producent:
TEXAS INSTRUMENTS
Dodany do bazy:
Ostatnio widziany:

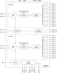
The ADS58C28 is a dual-channel, 11-bit analog-to-digital converter (ADC) with sampling rates up to 200MSPS. The device uses innovative design techniques to achieve high dynamic performance, while consuming extremely low power at 1.8V supply. This architecture makes it well-suited for multi-carrier, wide bandwidth communications applications.

The ADS58C28 uses third-generation SNRBoost3G technology to overcome SNR limitation as a result of quantization noise (for bandwidths less than Nyquist, fS/2). Enhancements in the SNRBoost3G technology allow support for SNR improvements over wide bandwidths (up to 60MHz). In addition, separate SNRBoost3G coefficients can also be programmed for each channel.

The device has a digital gain function that can be used to improve SFDR performance at lower full-scale input ranges. It includes a dc offset correction loop that can be used to cancel the ADC offset. The digital outputs of all channels are output as double data rate (DDR) low-voltage differential signaling (LVDS) together with an LVDS clock output. The low data rate of this interface (400MBPS at 200MSPS sample rate) makes it possible to use low-cost field-programmable gate array (FPGA)-based receivers. The strength of the LVDS output buffers can be increased to support 50Ω differential termination. This increase allows the output clock signal to be connected to two separate receiver chips with an effective 50Ω termination (such as the two clock ports of the GC5330). The same digital output pins can also be configured as a parallel 1.8V CMOS interface.

The device includes internal references while the traditional reference pins and associated decoupling capacitors have been eliminated. The ADS58C28 is specified over the industrial temperature range (–40°C to +85°C).

Elecena nie prowadzi sprzedaży elementów elektronicznych, ani w niej nie pośredniczy.

Produkt pochodzi z oferty sklepu