Single UART Without FIFO
Texas Instruments
RSS
Sample
- Darmowa próbka
- MPN:
- TL16C450
- Producent:
- TEXAS INSTRUMENTS
- Dodany do bazy:
- Ostatnio widziany:
Sugerowane produkty dla progmable
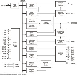
The TL16C450 is a CMOS version of an asynchronous communications element (ACE). It typically functions in a microcomputer system as a serial input/output interface.
The TL16C450 performs serial-to-parallel conversion on data received from a peripheral device or modem and parallel-to-serial conversion on data received from its CPU. The CPU can read and report on the status of the ACE at any point in the ACE's operation. Reported status information includes the type of transfer operation in progress, the status of the operation, and any error conditions encountered.
The TL16C450 ACE includes a programmable, on-board, baud rate generator. This generator is capable of dividing a reference clock input by divisors from 1 to (216 -1) and producing a 16× clock for driving the internal transmitter logic. Provisions are included to use this 16× clock to drive the receiver logic. Also included in the ACE is a complete modem control capability and a processor interrupt system that may be software tailored to the user's requirements to minimize the computing required to handle the communications link.
Elecena nie prowadzi sprzedaży elementów elektronicznych, ani w niej nie pośredniczy.
Produkt pochodzi z oferty sklepu Texas Instruments