elecena.pl

30-V, 8-channel digital-input serializer for 5-V systems

Texas Instruments

30-V, 8-channel digital-input serializer for 5-V systems RSS Sample
  • Darmowa próbka
MPN:
SN65HVS880
Producent:
TEXAS INSTRUMENTS
Dodany do bazy:
Ostatnio widziany:

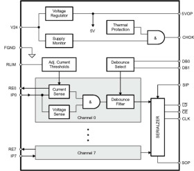
The SN65HVS880 is a 24-V, eight-channel, digital-input serializer for high-channel density digital input modules of PC and PLC based systems in industrial automation. In combination with galvanic isolators the device completes the interface between the 24-V sensor outputs of the field-side and the low-voltage controller inputs at the control-side. Input signals provided by EN60947-5-2 compliant 2- and 3-wire proximity switches are current-limited and then validated by internal debounce filters. The input switching characteristic is in accordance with IEC61131-2 for Type 1, 2, and 3 sensor switches.

Upon the application of load and clock signals, input data is latched in parallel into the shift register and afterwards clocked out serially via a subsequent isolator into a serial PLC input.

Cascading of multiple SN65HVS880 is possible by connecting the serial output of the leading device with the serial input of the following device, enabling the design of high-channel count input modules. Input status is indicated via 3-mA constant current LED outputs. An external precision resistor is required to set the internal reference current. The integrated voltage regulator provides a 5-V output to supply low-power isolators. An on-chip temperature sensor together with an internal supply voltage monitor provides a chip-okay (CHOK) indication.

The SN65HVS880 comes in a 28-pin PWP PowerPAD package allowing for efficient heat dissipation. The device is specified for operation at temperatures from -40°C to 85°C.

Elecena nie prowadzi sprzedaży elementów elektronicznych, ani w niej nie pośredniczy.

Produkt pochodzi z oferty sklepu