UART, I2C and IrDA serial port to USB bridge
Texas Instruments
RSS
Sample
Przejdź do sklepu »
- Darmowa próbka
- MPN:
- TUSB3410
- Producent:
- TEXAS INSTRUMENTS
- Dodany do bazy:
- Ostatnio widziany:
Sugerowane produkty dla tusb3410
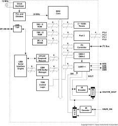
The TUSB3410 device provides bridging between a USB port and an enhanced UART serial port. The device contains an 8052 microcontroller unit (MCU) with 16KB of RAM that can be loaded from the host or from the external onboard memory through an I2C. The device also contains 10KB of ROM that allows the MCU to configure the USB port at boot time. The ROM code also contains an I2C bootloader. All device functions (such as the USB command decoding, UART setup, and error reporting) are managed by the internal MCU firmware in unison with the PC host.
Elecena nie prowadzi sprzedaży elementów elektronicznych, ani w niej nie pośredniczy.
Produkt pochodzi z oferty sklepu Texas Instruments