elecena.pl

2-bit bidirectional 1MHz I2C/SMBus voltage level translator with internal pull-up resistor

Texas Instruments

2-bit bidirectional 1MHz I2C/SMBus voltage level translator with internal pull-up resistor RSS Sample
  • Darmowa próbka
MPN:
TCA9406
Producent:
TEXAS INSTRUMENTS
Dodany do bazy:
Ostatnio widziany:

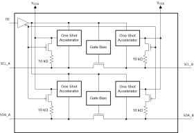
The TCA9406 is a 2-bit bidirectional I2C and SMBus voltage-level translator with an output enable (OE) input. It is operational from 1.65 V to 3.6 V on the A-side, referenced toVCCA, and from 2.3 V to 5.5 V on the B-side, referenced to VCCB. This allows the device to interface between lower and higher logic signal levels at any of the typical 1.8-V, 2.5-V, 3.3-V, and 5-V supply rails.

The OE input pin is referenced to VCCA, can be tied directly to VCCA, but it is also 5.5-V tolerant. The OE pin can also be controlled and set to a logic low to place all the SCL and SDA pins in a high-impedance state, which significantly reduces the quiescent current consumption.

Under normal I2C and SMBus operation or other open-drain configurations, the TCA9406 can support up to 2 Mbps; therefore, it is compatible with standard I2C speeds where the frequency of SCL is 100 kHz (Standard-mode), 400 kHz (Fast-mode), or 1 MHz (Fast-mode Plus). The device can also be used as a general purpose level translator, and when the A- and B-side ports are both driven with push-pull devices the TCA9406 can support up to 24 Mbps.

The TCA9406 features internal 10-kΩ pullup resistors on SCLA, SDAA, SCLB, and SDAB. Additional external pullup resistors can be added to the bus to reduce the total pullup resistance and speed up rising edges.

Elecena nie prowadzi sprzedaży elementów elektronicznych, ani w niej nie pośredniczy.

Produkt pochodzi z oferty sklepu