elecena.pl

5-V, crosspoint/exchange, 10-channel FET bus switch with –2-V undershoot protection

Texas Instruments

5-V, crosspoint/exchange, 10-channel FET bus switch with –2-V undershoot protection RSS Sample
  • Darmowa próbka
MPN:
SN74CBT3383C
Producent:
TEXAS INSTRUMENTS
Dodany do bazy:
Ostatnio widziany:

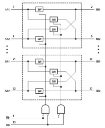
The SN74CBT3383C is a high-speed TTL-compatible FET bus-exchange switch with low ON-state resistance (ron), allowing for minimal propagation delay. Active Undershoot-Protection Circuitry on the A and B ports of the SN74CBT3383C provides protection for undershoot up to −2 V by sensing an undershoot event and ensuring that the switch remains in the proper OFF state.

The SN74CBT3383C is organized as a 10-bit bus switch, or as a 5-bit bus-exchange switch with a single output-enable (BE) input that provides data exchanging between four signal ports. The select (BX) input controls the data path of the bus-exchange switch. When BE is low, the A port is connected to the B port, allowing bidirectional data flow between ports. When BE is high, a high-impedance state exists between the A and B ports.

This device is fully specified for partial-power-down applications using Ioff. The Ioff feature ensures that damaging current will not backflow through the device when it is powered down. The device has isolation during power off.

To ensure the high-impedance state during power up or power down, BE should be tied to VCC through a pullup resistor; the minimum value of the resistor is determined by the current-sinking capability of the driver.

Elecena nie prowadzi sprzedaży elementów elektronicznych, ani w niej nie pośredniczy.

Produkt pochodzi z oferty sklepu