1.6-V Output, 300-mA, 95% Efficient Step-Down Converter in SOT-23
Texas Instruments
RSS
Sample
- Darmowa próbka
- MPN:
- TPS62204
- Producent:
- TEXAS INSTRUMENTS
- Dodany do bazy:
- Ostatnio widziany:
Sugerowane produkty dla or5
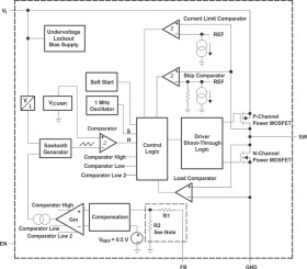
The TPS6220x devices are a family of high-efficiency synchronous step-down converters ideally suited for portable systems powered by 1-cell Li-Ion or 3-cell NiMH/NiCd batteries. The devices are also suitable to operate from a standard 3.3-V or 5-V voltage rail.
With an output voltage range of 6 V down to 0.7 V and up to 300 mA output current, the devices are ideal to power low voltage DSPs and processors used in PDAs, pocket PCs, and smart phones. Under nominal load current, the devices operate with a fixed switching frequency of typically 1 MHz. At light load currents, the part enters the power save mode operation; the switching frequency is reduced and the quiescent current is typically only 15 µA; therefore, it achieves the highest efficiency over the entire load current range. The TPS6220x needs only three small external components. Together with the SOT23 package, a minimum system solution size is achieved. An advanced fast response voltage mode control scheme achieves superior line and load regulation with small ceramic input and output capacitors.
Elecena nie prowadzi sprzedaży elementów elektronicznych, ani w niej nie pośredniczy.
Produkt pochodzi z oferty sklepu Texas Instruments