28V, 0.5A Step-Down Converter with SNOOZE Mode
Texas Instruments
RSS
Sample
- Darmowa próbka
- MPN:
- TPS62177
- Producent:
- TEXAS INSTRUMENTS
- Dodany do bazy:
- Ostatnio widziany:
Sugerowane produkty dla tps6217x
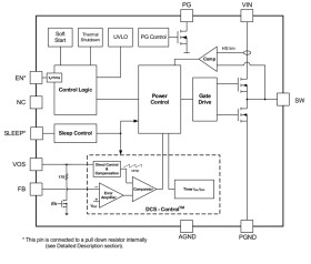
The TPS6217x is a high efficiency synchronous step-down DC/DC converter, based on the DCS-Control™ topology.
With a wide operating input voltage range of 4.75 V to 28 V, the device is ideally suited for systems powered from multi cell Li-Ion as well as 12 V and even higher intermediate supply rails, providing up to 500-mA output current.
The TPS6217x automatically enters power save mode at light loads, to maintain high efficiency across the whole load range. As well, it features a sleep mode to supply applications with advanced power save modes like ultra low power micro controllers. The power good output may be used for power sequencing and/or power on reset.
The device features a typical quiescent current of 22 µA in normal mode and 4.8 µA in sleep mode. In sleep mode, the efficiency at very low load currents can be increased by as much as 20%. In shutdown mode, the shutdown current is less than 2 µA and the output is actively discharged.
The TPS6217x, available in an adjustable and a fixed output voltage version, is packaged in a small 2-mm × 3-mm 10-pin WSON package.
Elecena nie prowadzi sprzedaży elementów elektronicznych, ani w niej nie pośredniczy.
Produkt pochodzi z oferty sklepu Texas Instruments