elecena.pl

High efficiency white LED driver with programmable Ambient Light Sensing Capability and I2C Compati

Texas Instruments

High efficiency white LED driver with programmable Ambient Light Sensing Capability and I2C Compati RSS Sample
  • Darmowa próbka
MPN:
LM3532
Producent:
TEXAS INSTRUMENTS
Dodany do bazy:
Ostatnio widziany:

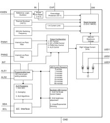
The LM3532 is a 500-kHz fixed frequency asynchronous boost converter which provides the power for 3 high-voltage, low-side current sinks. The device is programmable over an I2C-compatible interface and has independent current control for all three channels. The adaptive current regulation method allows for different LED currents in each current sink thus allowing for a wide variety of backlight and keypad applications.

The main features of the LM3532 include dual ambient light sensor inputs each with 32 internal voltage setting resistors, 8-bit logarithmic and linear brightness control, dual external PWM brightness control inputs, and up to 1000:1 dimming ratio with programmable fade in and fade out settings.

The LM3532 is available in a 16-pin, 0.4-mm pitch thin DSBGA package. The device operates over a 2.7-V to 5.5-V input voltage range and the −40°C to +85°C temperature range.

Elecena nie prowadzi sprzedaży elementów elektronicznych, ani w niej nie pośredniczy.

Produkt pochodzi z oferty sklepu