elecena.pl

High brightness LED driver with integrated 3-A, 40-V power switch

Texas Instruments

High brightness LED driver with integrated 3-A, 40-V power switch RSS Sample
  • Darmowa próbka
MPN:
TPS61500
Producent:
TEXAS INSTRUMENTS
Dodany do bazy:
Ostatnio widziany:

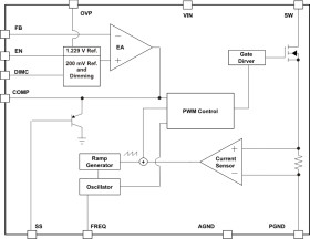
The TPS61500 is a monolithic switching regulator with integrated 3-A, 40-V power switch. It is an ideal driver for high brightness 1-W or 3-W LED. The device has a wide input voltage range to support application with input voltage from multi-cell batteries or regulated 5-V or 12-V power rails.

The LED current is set with an external sensor resistor R3, and the feedback voltage that is regulated to 200 mV by current mode PWM (pulse width modulation) control loop, as shown in Typical Application Circuit. The device supports analog and pure PWM dimming methods for LED brightness control. Connecting a capacitor to the DIMC pin configures the device to be used for analog dimming, and the LED current varies proportional to the duty cycle of an external PWM signal. Floating the DIMC pin configures the device for pure PWM dimming with the average LED current being the PWM signal’s duty cycle times a set LED current.

The device features a programmable soft-start function to limit inrush current during start-up, and it has other built-in protection features, such as pulse-by-pulse overcurrent limit, overvoltage protection, and thermal shutdown. The TPS61500 is available in 14-pin HTSSOP package with PowerPAD.

Elecena nie prowadzi sprzedaży elementów elektronicznych, ani w niej nie pośredniczy.

Produkt pochodzi z oferty sklepu