elecena.pl

Low power C674x floating-point DSP- 375MHz

Texas Instruments

Low power C674x floating-point DSP- 375MHz RSS Sample
  • Darmowa próbka
MPN:
TMS320C6743
Producent:
TEXAS INSTRUMENTS
Dodany do bazy:
Ostatnio widziany:

The C6743 device is a low-power digital signal processor based on C674x DSP core. The device consumes significantly lower power than other members of the TMS320C6000™ platform of DSPs.

The C6743 device enables original-equipment manufacturers (OEMs) and original-design manufacturers (ODMs) to quickly bring to market devices featuring high processing performance.

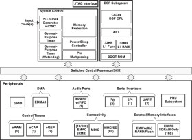
The C6743 DSP core uses a two-level cache-based architecture. The Level 1 program cache (L1P) is a 32-KB direct mapped cache and the Level 1 data cache (L1D) is a 32-KB 2-way set-associative cache. The Level 2 program cache (L2P) consists of a 128-KB of memory space that is shared between program and data space. L2 memory can be configured as mapped memory, cache, or combinations of the two.

The peripheral set includes: a 10/100 Mbps Ethernet MAC (EMAC) with a management data input/output (MDIO) module; two I2C Bus interfaces; two multichannel audio serial ports (McASPs) with 14/9 serializers and FIFO buffers; two 64-bit general-purpose timers each configurable (one configurable as watchdog); up to 8 banks of 16 pins of general-purpose input/output (GPIO) with programmable interrupt/event generation modes, multiplexed with other peripherals; two UART interfaces (one with both RTS and CTS); three enhanced high-resolution pulse width modulator (eHRPWM) peripherals; three 32-bit enhanced capture (eCAP) module peripherals which can be configured as 3 capture inputs or 3 auxiliary pulse width modulator (APWM) outputs; two 32-bit enhanced quadrature encoded pulse (eQEP) peripherals; and 2 external memory interfaces (EMIFs): an asynchronous external memory interface (EMIFA) for slower memories or peripherals, and a higher speed memory interface (EMIFB) for SDRAM.

The Ethernet Media Access Controller (EMAC) provides an efficient interface between the C6743 and the network. The EMAC supports both 10Base-T and 100Base-TX, or 10 Mbps and 100 Mbps in either half- or full-duplex mode. Additionally, an MDIO interface is available for PHY configuration.

The rich peripheral set provides the ability to control external peripheral devices and communicate with external processors. For details on each of the peripherals, see the related sections later in this document and the associated peripheral reference guides.

Elecena nie prowadzi sprzedaży elementów elektronicznych, ani w niej nie pośredniczy.

Produkt pochodzi z oferty sklepu