elecena.pl

8 MHz sensing MCU with 3 16-bit Sigma-Delta ADCs, 128-segment LCD, 16KB Flash, 512B RAM

Texas Instruments

8 MHz sensing MCU with 3 16-bit Sigma-Delta ADCs, 128-segment LCD, 16KB Flash, 512B RAM RSS Sample
  • Darmowa próbka
MPN:
MSP430F425A
Producent:
TEXAS INSTRUMENTS
Dodany do bazy:
Ostatnio widziany:

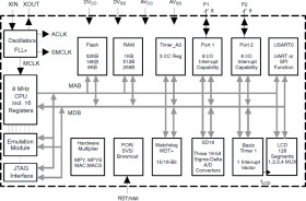
The Texas InstrumentsMSP430 family of ultra-low power microcontrollers consists of several devices featuring different sets of peripherals targeted for various applications. The architecture, combined with five low-power modes, is optimized to achieve extended battery life in portable measurement applications. The device features a powerful 16-bit RISC CPU, 16-bit registers, and constant generators that contribute to maximum code efficiency.The digitally controlled oscillator (DCO) allows wake-up from low-power modes to active mode in less than 6 µs.

The MSP430F42xA series are microcontroller configurations with three independent 16-bit sigma-delta A/D converters, each with an integrated differential programmable gain amplifier input stage. Also included are a built-in 16-bit timer, 128 LCD segment drive capability, hardware multiplier, and 14 I/O pins.

Typical applications include high-resolution applications such as handheld metering equipment, weigh scales, and energy meters.

Elecena nie prowadzi sprzedaży elementów elektronicznych, ani w niej nie pośredniczy.

Produkt pochodzi z oferty sklepu