elecena.pl

16 MHz MCU with 2KB Flash, 256B SRAM, SPI/I2C, timer

Texas Instruments

16 MHz MCU with 2KB Flash, 256B SRAM, SPI/I2C, timer RSS Sample
  • Darmowa próbka
MPN:
MSP430G2202
Producent:
TEXAS INSTRUMENTS
Dodany do bazy:
Ostatnio widziany:

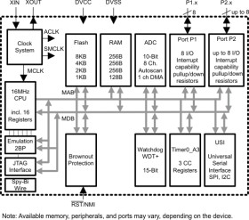
The Texas Instruments MSP430 family of ultra-low-power microcontrollers consist of several devices featuring different sets of peripherals targeted for various applications. The architecture, combined with five low-power modes is optimized to achieve extended battery life in portable measurement applications. The device features a powerful 16-bit RISC CPU, 16-bit registers, and constant generators that contribute to maximum code efficiency. The digitally controlled oscillator (DCO) allows wake-up from low-power modes to active mode in less than 1 µs.

The MSP430G2x32 and MSP430G2x02 series of microcontrollers are ultra-low-power mixed signal microcontrollers with built-in 16-bit timers, and up to 16 I/O capacitive-touch enabled pins and built-in communication capability using the universal serial communication interface. The MSP430G2x32 series have a 10-bit A/D converter. For configuration details, see . Typical applications include low-cost sensor systems that capture analog signals, convert them to digital values, and then process the data for display or for transmission to a host system.

Elecena nie prowadzi sprzedaży elementów elektronicznych, ani w niej nie pośredniczy.

Produkt pochodzi z oferty sklepu