elecena.pl

16-MHz MCU with 2-KB Flash, 128-B SRAM, comparator, timer

Texas Instruments

16-MHz MCU with 2-KB Flash, 128-B SRAM, comparator, timer RSS Sample
  • Darmowa próbka
MPN:
MSP430G2210
Producent:
TEXAS INSTRUMENTS
Dodany do bazy:
Ostatnio widziany:

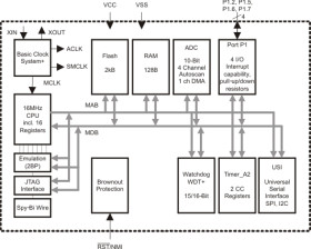
The Texas Instruments MSP430 family of ultra-low-power microcontrollers consist of several devices featuring different sets of peripherals targeted for various applications. The architecture, combined with five low-power modes, is optimized to achieve extended battery life in portable measurement applications. The device features a powerful 16-bit RISC CPU, 16-bit registers, and constant generators that contribute to maximum code efficiency. The digitally controlled oscillator (DCO) allows wake-up from low-power modes to active mode in less than 1 µs.

The MSP430G22x0 series is an ultra-low-power mixed signal microcontroller with a built-in 16-bit timer and four I/O pins. In addition, the MSP430G2230 has a built-in communication capability using synchronous protocols (SPI or I2C) and a 10-bit A/D converter. The MSP430G2210 has a versatile analog comparator.

Elecena nie prowadzi sprzedaży elementów elektronicznych, ani w niej nie pośredniczy.

Produkt pochodzi z oferty sklepu