elecena.pl

4 MHz MCU with 2KB ROM, 2KB SRAM, 8-bit ADC, 8-bit DAC, comparator, timer

Texas Instruments

4 MHz MCU with 2KB ROM, 2KB SRAM, 8-bit ADC, 8-bit DAC, comparator, timer RSS Sample
  • Darmowa próbka
MPN:
MSP430L092
Producent:
TEXAS INSTRUMENTS
Dodany do bazy:
Ostatnio widziany:

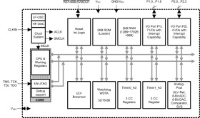
The Texas Instruments MSP430 family of ultra-low-power microcontrollers consists of several devices featuring different sets of peripherals targeted for various applications. The architecture, combined with five low-power modes, is optimized to achieve extended battery life in portable measurement applications. The device features a powerful 16-bit RISC CPU, 16-bit registers, and constant generators that contribute to maximum code efficiency. The digitally controlled internal oscillators allow wake-up from low-power modes to active mode in less than 5 µs.

The MSP430C09x and MSP430L092 series are microcontroller configurations with two 16-bit timers, an ultra-low-voltage 8-bit analog-to-digital (A/D) converter, an 8-bit digital-to-analog (D/A) converter, and up to 11 I/O pins.

Typical applications for this device include single-cell systems requiring a full analog signal chain.

Elecena nie prowadzi sprzedaży elementów elektronicznych, ani w niej nie pośredniczy.

Produkt pochodzi z oferty sklepu