elecena.pl

LF Reader IC

Texas Instruments

LF Reader IC RSS Sample
  • Darmowa próbka
MPN:
TMS3705
Producent:
TEXAS INSTRUMENTS
Dodany do bazy:
Ostatnio widziany:

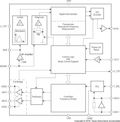
The TMS3705 transponder base station IC is used to drive the antenna of a TI-RFid transponder system, to send data modulated on the antenna signal, and to detect and demodulate the response of the transponder. The response of the transponder is a frequency shift keyed (FSK) signal. The high or low bits are coded in two different high-frequency signals (134.2 kHz for low bits and 123 kHz for high bits, nominal). The transponder induces these signals in the antenna coil according an internally stored code. The energy that the transponder needs to send out the data is stored in a charge capacitor in the transponder. The antenna field charges this capacitor in a preceding charge phase. The IC has an interface to an external microcontroller.

There are two configurations for the clock supply to both the microcontroller and the base station IC:

The base station IC has an on-chip PLL that generates a clock frequency of 16 MHz for internal clock supply only. Only TMS3705DDRQ1 and TMS3705GDRQ1 is recommended in combination with AES transponder products (for example, TRPWS21GTEA or RF430F5xxx). TMS3705EDRQ1 and TMS3705FDRQ1 is recommended for best performance in combination with DST40, DST80, MPT transponders (for example, TMS37145TEAx, TMS37126xx, TMS37x128xx, TMS37x136xx, TMS37x158xx, RI-TRP-DR2B-xx, RI-TRP-BRHP-xx) and cannot be used in combination with AES transponder products.

Elecena nie prowadzi sprzedaży elementów elektronicznych, ani w niej nie pośredniczy.

Produkt pochodzi z oferty sklepu