elecena.pl

Automotive, 28-W, 4-ch, 6- to 24-V analog SE in Class-D audio amplifier w/ I2C diag, load dump, PBTL

Texas Instruments

Automotive, 28-W, 4-ch, 6- to 24-V analog SE in Class-D audio amplifier w/ I2C diag, load dump, PBTL RSS Sample
  • Darmowa próbka
MPN:
TAS5414C-Q1
Producent:
TEXAS INSTRUMENTS
Dodany do bazy:
Ostatnio widziany:

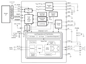
The TAS5414C-Q1 and TAS5424C-Q1 are four-channel digital audio amplifiers designed for use in automotive head units and external amplifier modules. They provide four channels at 23 W continuously into 4 Ω at less than 1% THD+N from a 14.4-V supply. Each channel can also deliver 38 W into 2 Ω at 1% THD+N. The TAS5414C-Q1 uses single-ended analog inputs, whereas the TAS5424C-Q1 employs differential inputs for increased immunity to common-mode system noise. The digital PWM topology of the device provides dramatic improvements in efficiency over traditional linear amplifier solutions. This reduces the power dissipated by the amplifier by a factor of ten under typical music playback conditions. The device incorporates all the functionality needed to perform in the demanding OEM applications area. The devices have built-in load diagnostic functions for detecting and diagnosing misconnected outputs to help to reduce test time during the manufacturing process.

Elecena nie prowadzi sprzedaży elementów elektronicznych, ani w niej nie pośredniczy.

Produkt pochodzi z oferty sklepu