elecena.pl

Fixed-Point Digital Signal Processor

Texas Instruments

Fixed-Point Digital Signal Processor RSS Sample
  • Darmowa próbka
MPN:
TMS320C6205
Producent:
TEXAS INSTRUMENTS
Dodany do bazy:
Ostatnio widziany:

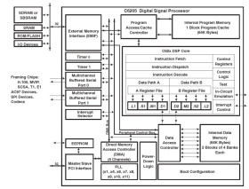
The TMS320C62x™ DSPs (including the TMS320C6205 device) compose the fixed-point DSP generation in the TMS320C6000™ DSP platform. The TMS320C6205 (C6205) device is based on the high-performance, advanced VelociTI™ very-long-instruction-word (VLIW) architecture developed by Texas Instruments (TI), making the C6205 an excellent choice for multichannel and multifunction applications.

With performance of up to 1600 million instructions per second (MIPS) at a clock rate of 200 MHz, the C6205 offers cost-effective solutions to high-performance DSP-programming challenges. The C6205 DSP possesses the operational flexibility of high-speed controllers and the numerical capability of array processors. This processor has 32 general-purpose registers of 32-bit word length and eight highly independent functional units. The eight functional units provide six arithmetic logic units (ALUs) for a high degree of parallelism and two 16-bit multipliers for a 32-bit result. The C6205 can produce two multiply-accumulates (MACs) per cycle for a total of 400 million MACs per second (MMACS). The C6205 DSP also has application-specific hardware logic, on-chip memory, and additional on-chip peripherals.

The C6205 includes a large bank of on-chip memory and has a powerful and diverse set of peripherals. Program memory consists of a 64K-byte block that is user-configurable as cache or memory-mapped program space. Data memory consists of two 32K-byte blocks of RAM. The peripheral set includes two multichannel buffered serial ports (McBSPs), two general-purpose timers, a peripheral component interconnect (PCI) module that supports 33-MHz master/slave interface and 4-wire serial EEPROM interface, and a glueless external memory interface (EMIF) capable of interfacing to SDRAM or SBSRAM and asynchronous peripherals.

The C6205 has a complete set of development tools which includes: a new C compiler, an assembly optimizer to simplify programming and scheduling, and a Windows™ debugger interface for visibility into source code execution.

Elecena nie prowadzi sprzedaży elementów elektronicznych, ani w niej nie pośredniczy.

Produkt pochodzi z oferty sklepu