elecena.pl

16 MHz MCU with 32KB Flash, 1KB SRAM, 10-bit ADC, UART/SPI/I2C, timer

Texas Instruments

16 MHz MCU with 32KB Flash, 1KB SRAM, 10-bit ADC, UART/SPI/I2C, timer RSS Sample
  • Darmowa próbka
MPN:
MSP430G2744
Producent:
TEXAS INSTRUMENTS
Dodany do bazy:
Ostatnio widziany:

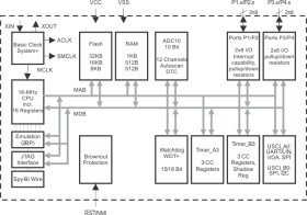
The Texas Instruments MSP430 family of ultra-low-power microcontrollers consists of several devices featuring different sets of peripherals targeted for various applications. The architecture, combined with five low-power modes, is optimized to achieve extended battery life in portable measurement applications. The device features a powerful 16-bit RISC CPU, 16-bit registers, and constant generators that contribute to maximum code efficiency. The digitally controlled oscillator (DCO) allows the device to wake up from low-power modes to active mode in less than 1 µs.

The MSP430G2x44 series is an ultra-low-power mixed-signal microcontroller with two built-in 16-bit timers, a universal serial communication interface (USCI), 10-bit analog-to-digital converter (ADC) with integrated reference and data transfer controller (DTC), and 32 I/O pins.

Typical applications include sensor systems that capture analog signals, convert them to digital values, and then process the data for display or for transmission to a host system. Stand-alone radio-frequency (RF) sensor front ends are another area of application.

Elecena nie prowadzi sprzedaży elementów elektronicznych, ani w niej nie pośredniczy.

Produkt pochodzi z oferty sklepu