elecena.pl

Automotive Grade, ±1°C Temperature Sensor with SPI Interface

Texas Instruments

Automotive Grade, ±1°C Temperature Sensor with SPI Interface RSS Sample
  • Darmowa próbka
MPN:
LM95071-Q1
Producent:
TEXAS INSTRUMENTS
Dodany do bazy:
Ostatnio widziany:

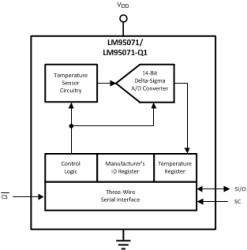
The LM95071-Q1 is a low-power, high-resolution digital temperature sensor with an SPI and MICROWIRE compatible interface, available in the 5-pin SOT-23. The host can query the LM95071-Q1 at any time to read temperature. Its low operating current is useful in systems where low power consumption is critical.

The LM95071-Q1 has 13-bit plus sign temperature resolution (0.03125°C per LSB) while operating over a temperature range of −40°C to +150°C.

The 2.4-V to 5.5-V supply voltage range, fast conversion rate, low supply current, and simple SPI interface of the LM95071-Q1 make it ideal for a wide range of applications.

Elecena nie prowadzi sprzedaży elementów elektronicznych, ani w niej nie pośredniczy.

Produkt pochodzi z oferty sklepu