elecena.pl

Buck Pulse Width Modulator Stepdown Voltage Regulator

Texas Instruments

Buck Pulse Width Modulator Stepdown Voltage Regulator RSS Sample
  • Darmowa próbka
MPN:
UC2573
Producent:
TEXAS INSTRUMENTS
Dodany do bazy:
Ostatnio widziany:

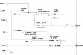
The UC3573 is a Buck pulse width modulator which steps down and regulates a positive input voltage. The chip is optimized for use in a single inductor buck switching converter employing an external PMOS switch. The block diagram consists of a precision reference, an error amplifier configured for voltage mode operation, an oscillator, a PWM comparator with latching logic, and a 0.5A peak gate driver. The UC3573 includes an undervoltage lockout circuit to insure sufficient input supply voltage is present before any switching activity can occur, and a pulse-by-pulse current limit. Input current can be sensed and limited to a user determined maximum value. In addition, a sleep comparator interfaces to the UVLO circuit which turns the chip off when the input voltage is below the UVLO threshold. This reduces the supply current to only 50uA, making the UC3573 ideal for battery powered applications.

Elecena nie prowadzi sprzedaży elementów elektronicznych, ani w niej nie pośredniczy.

Produkt pochodzi z oferty sklepu