elecena.pl

Sitara processor: Arm9, SDRAM, Ethernet

Texas Instruments

Sitara processor: Arm9, SDRAM, Ethernet RSS Sample
  • Darmowa próbka
MPN:
AM1705
Producent:
TEXAS INSTRUMENTS
Dodany do bazy:
Ostatnio widziany:

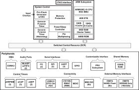
The AM1705 is a low-power ARM microprocessor based on an ARM926EJ-S.

The device enables original-equipment manufacturers (OEMs) and original-design manufacturers (ODMs) to quickly bring to market devices with robust operating systems, rich user interfaces, and high processor performance through the maximum flexibility of a fully integrated, mixed processor solution.

The ARM926EJ-S is a 32-bit RISC processor core that performs 32-bit or 16-bit instructions and processes 32-, 16-, or 8-bit data. The core uses pipelining so that all parts of the processor and memory system can operate continuously.

The ARM core has a coprocessor 15 (CP15), protection module, and data and program memory management units (MMUs) with table look-aside buffers. The ARM core has separate 16KB of instruction and 16-KB data caches. Both memory blocks are 4-way associative with virtual index virtual tag (VIVT). The ARM core also has 8KB of RAM (Vector Table) and 64KB of ROM.

The peripheral set includes: a 10/100 Mbps Ethernet MAC (EMAC) with a management data input/output (MDIO) module; two I2C Bus interfaces; three multichannel audio serial ports (McASPs) with serializers and FIFO buffers; two 64-bit general-purpose timers each configurable (one configurable as watchdog); up to 8 banks of 16 pins of general-purpose input/output (GPIO) with programmable interrupt/event generation modes, multiplexed with other peripherals; three UART interfaces (one with both RTS and CTS); three enhanced high-resolution pulse width modulator (eHRPWM) peripherals; three 32-bit enhanced capture (eCAP) module peripherals which can be configured as 3 capture inputs or 3 auxiliary pulse width modulator (APWM) outputs; two 32-bit enhanced quadrature encoded pulse (eQEP) peripherals; and 2 external memory interfaces: an asynchronous and SDRAM external memory interface (EMIFA) for slower memories or peripherals, and a higher speed memory interface (EMIFB) for SDRAM.

The Ethernet Media Access Controller (EMAC) provides an efficient interface between the device and the network. The EMAC supports both 10Base-T and 100Base-TX, or 10 Mbps and 100 Mbps in either half- or full-duplex mode. Additionally, an MDIO interface is available for PHY configuration.

The I2C, SPI, and USB2.0 ports allow the device to easily control peripheral devices and/or communicate with host processors.

The rich peripheral set provides the ability to control external peripheral devices and communicate with external processors. For details on each peripheral, see the related sections later in this document and the associated peripheral reference guides.

The device has a complete set of development tools for the ARM processor. These tools include C compilers and a Windows® debugger interface for visibility into source code execution.

Elecena nie prowadzi sprzedaży elementów elektronicznych, ani w niej nie pośredniczy.

Produkt pochodzi z oferty sklepu