elecena.pl

16-Bit, 210Msps High Performance ADC

Analog Devices

16-Bit, 210Msps High Performance ADC RSS Sample
  • Darmowa próbka
MPN:
LTC2107
Producent:
ANALOG DEVICES
Dodany do bazy:
Ostatnio widziany:
Zmiana ceny:
-100% (20.01.2025)
Poprzednia cena:
127.24

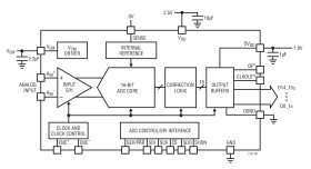
The LTC2107 is a 16-bit, 210Msps high performance ADC. The combination of high sample rate, low noise and high linearity enable a new generation of digital radio designs. The direct sampling front-end is designed specifically for the most demanding receiver applications such as software defined radio and multi-channel GSM base stations. The AC performance includes, SNR = 80dBFS, SFDR = 98dBFS. Aperture jitter = 45fsRMS allows direct sampling of IF frequencies up to 500MHz with excellent performance.

Features such as internal dither, a PGA front-end and digital output randomization help maximize performance. Modes of operation can be controlled through a 3-wire serial interface (SPI).

The double data rate (DDR) low voltage differential (LVDS) digital outputs help reduce digital line count and enable space saving designs.

Applications

* Software Defined Radios

* Military Radio and RADAR

* Cellular Base Stations

* Spectral Analysis

* Imaging Systems

* ATE and Instrumentation

* 98dBFS SFDR* 80dBFS SNR Noise Floor* Aperture Jitter = 45fsRMS* PGA Front-End 2.4VP-P or 1.6VP-P Input Range* Optional Internal Dither* Optional Data Output Randomizer* Power Dissipation: 1280mW* Shutdown Mode* Serial SPI Port for Configuration* Clock Duty Cycle Stabilizer* 48-Lead (7mm × 7mm) QFN Package

Elecena nie prowadzi sprzedaży elementów elektronicznych, ani w niej nie pośredniczy.

Produkt pochodzi z oferty sklepu