elecena.pl

30-W stereo, 40-W mono, 4.5- to 26.4-V supply, digital input Class-D audio amplifier

Texas Instruments

30-W stereo, 40-W mono, 4.5- to 26.4-V supply, digital input Class-D audio amplifier RSS Sample
  • Darmowa próbka
MPN:
TAS5756M
Producent:
TEXAS INSTRUMENTS
Dodany do bazy:
Ostatnio widziany:

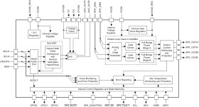
The TAS5756M device is a high-performance, stereo closed-loopamplifier with integrated audio processor with architecture. To convertfrom digital to analog, the device uses a high performance DAC withBurr-Brown mixed signal heritage.It requires only two power supplies; one DVDD for low-voltage circuitry and one PVDD forhigh-voltage circuitry. It is controlled by a software control port using standardI2C communication. In the family, theTAS5756M uses traditional BD modulation, ensuring low distortion characteristics. The TAS5754M uses1SPW modulation to reduce output ripple current, the expense of slightly higher distortion.

The unique HybridFlow architecture allows the system designer tochoose from several configurable DSP programs that are specifically designed for use in popularaudio end equipment such as bluetooth (BT) speakers, sound bars, docking stations, and subwoofers.This architecture combines the flexibility of a fully programmable device with the fast downloadtime and ease of use of a fixed-function ROM device.

An optimal mix of thermal performance and device cost is provided in the90 mΩ rDS(on) of the output MOSFETs. Additionally, athermally enhanced 48-Pin HTSSOP provides excellent operation in the elevated ambienttemperatures found in modern consumer electronic devices.

For all available packages, see the orderable addendum at the end of the datasheet. Please refer to SLAU577 for information regarding Audio Processing options available via the HybridFlow library.Tested on TAS5756MDCAEVM.

Elecena nie prowadzi sprzedaży elementów elektronicznych, ani w niej nie pośredniczy.

Produkt pochodzi z oferty sklepu