elecena.pl

1.2V to 3.6V, 12-Bit, Nanopower, 4-Wire Touch Screen Controller

Texas Instruments

1.2V to 3.6V, 12-Bit, Nanopower, 4-Wire Touch Screen Controller RSS Sample
  • Darmowa próbka
MPN:
TSC2013-Q1
Producent:
TEXAS INSTRUMENTS
Dodany do bazy:
Ostatnio widziany:

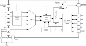
The TSC2013-Q1 device is a very low-power dual-touch screen controller designed to work with power-sensitive, low-cost touch-screen displays in automotive infotainment and navigation systems. It contains a complete, ultralow-power, 12-bit, analog-to-digital (ADC) resistive touch-screen converter, including drivers and the control logic to measure touch pressure.

The TSC2013-Q1 device enables pinch, rotate, and zoom functionality over a standard four-wire interface. The device supports an I2C serial bus and data transmission protocol in all three defined modes: standard, fast, and high-speed. The 10 or 12-bit ADC within is easily programmable to customize system and user experience.

Elecena nie prowadzi sprzedaży elementów elektronicznych, ani w niej nie pośredniczy.

Produkt pochodzi z oferty sklepu