elecena.pl

16 MHz MCU with 16KB FRAM, 2KB SRAM, 10-bit ADC, LCD, UART/SPI/I2C, IR logic, timer

Texas Instruments

16 MHz MCU with 16KB FRAM, 2KB SRAM, 10-bit ADC, LCD, UART/SPI/I2C, IR logic, timer RSS Sample
  • Darmowa próbka
MPN:
MSP430FR4133
Producent:
TEXAS INSTRUMENTS
Dodany do bazy:
Ostatnio widziany:

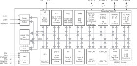
MSP430FR41xx ultra-low-power (ULP) microcontroller family supports low-cost LCD applications that benefit from an integrated 10-bit ADC such as remote controls, thermostats, smart meters, blood glucose monitors, and blood pressure monitors. The MCUs feature a powerful 16-bit RISC CPU, 16-bit registers, and constant generators that contribute to maximum code efficiency. The digitally controlled oscillator (DCO) allows the device to wake up from low-power modes to active mode in less than 10 µs. The architecture, combined with extensive low-power modes, is optimized to achieve extended battery life in portable measurement applications.

The MSP430™ FRAM microcontroller platform combines uniquely embedded ferroelectric random access memory (FRAM) and a holistic ultra-low-power system architecture, allowing system designers to increase performance while lowering energy consumption. FRAM technology combines the low-energy fast writes, flexibility, and endurance of RAM with the nonvolatile behavior of flash.

MSP430FR41x MCUs are supported by an extensive hardware and software ecosystem with reference designs and code examples to get your design started quickly. Development kits for the MSP430FR41xx include the MSP-EXP430FR4133 LaunchPad™ development kit and the MSP-TS430PM64D 64-pin target development board. TI also provides free MSP430Ware™ software, which is available as a component of Code Composer Studio™ IDE desktop and cloud versions within TI Resource Explorer. MSP430 MCUs are also supported by extensive online collateral, such as our housekeeping example series, MSP Academy training, and online support through the TI E2E™ support forums.

For complete module descriptions, see the MSP430FR4xx and MSP430FR2xx Family User’s Guide .

Elecena nie prowadzi sprzedaży elementów elektronicznych, ani w niej nie pośredniczy.

Produkt pochodzi z oferty sklepu