elecena.pl

1080p HDMI to FPD-Link III bridge serializer

Texas Instruments

1080p HDMI to FPD-Link III bridge serializer RSS Sample
  • Darmowa próbka
MPN:
DS90UB949-Q1
Producent:
TEXAS INSTRUMENTS
Dodany do bazy:
Ostatnio widziany:

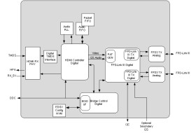
The DS90UB949-Q1 is an HDMI to FPD-Link III bridge device which, in conjunction with the FPD-Link III DS90UB940-Q1/DS90UB948-Q1 deserializers, supplies 1-lane or 2-lane high-speed serial streams over cost-effective 50-Ω single-ended coaxial or 100-Ω differential shielded twisted-pair (STP) cables. It serializes an HDMI v1.4b input supporting video resolutions up to WUXGA and 1080p60 with 24-bit color depth.

The FPD-Link III interface supports video and audio data transmission and full duplex control, including I2C and SPI communication, over the same differential link. The consolidation of video data and control over two differential pairs can reduce the interconnect size and weight and can simplify system design. EMI is minimized by the use of low-voltage differential signaling, data scrambling, and randomization. In backward-compatible mode, the device supports up to WXGA and 720p resolutions with 24-bit color depth over a single differential link.

The DS90UB949-Q1 supports multi-channel audio received through HDMI or an external I2S interface. The device also supplies an optional auxiliary audio interface.

Elecena nie prowadzi sprzedaży elementów elektronicznych, ani w niej nie pośredniczy.

Produkt pochodzi z oferty sklepu