Quad 500MSPS Receiver and Feedback IC
Texas Instruments
RSS
Sample
- Darmowa próbka
- MPN:
- ADS58J89
- Producent:
- TEXAS INSTRUMENTS
- Dodany do bazy:
- Ostatnio widziany:
Sugerowane produkty dla ads58j89
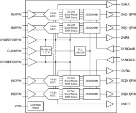
The ADS58J89 is a high-linearity, quad-channel, 14-bit, 250/500-MSPS IF (intermediate frequency) receiver. The four channels contain 500MSPS 14-bit ADCs followed by signal processing for wireless infrastructure systems. The channels can be configured in various modes depending on bandwidth, resolution and sample time requirements. The signal processing block contains selectable modes for decimation filters, SNR Boost filters, resolution versus time and time-division duplex (TDD) burst mode. Designed for high antenna count systems, the 4 channels provides high bandwidth and linearity to multi-channel receivers in a small footprint. The device can be dual function as traffic receiver and power amplifier linearization feedback path in TDD systems.
Key Specifications:
* Power Dissipation: 875 mW/ch * Input Bandwidth (3dB): 900 MHz * Aperture Jitter: 98 fs rms * Channel Isolation: 85 dB * Performance at ∫in = 170 MHz at 1.25 Vpp, 1 dBFS
* SNR: 65.8 dBFS * SFDR: 85 dBc HD2,3 95 dBFS non HD2,3
Elecena nie prowadzi sprzedaży elementów elektronicznych, ani w niej nie pośredniczy.
Produkt pochodzi z oferty sklepu Texas Instruments