elecena.pl

12-V nominal, 2-A peak sensorless sinusoidal control 3-phase BLDC motor driver

Texas Instruments

12-V nominal, 2-A peak sensorless sinusoidal control 3-phase BLDC motor driver RSS Sample
  • Darmowa próbka
MPN:
DRV10975
Producent:
TEXAS INSTRUMENTS
Dodany do bazy:
Ostatnio widziany:

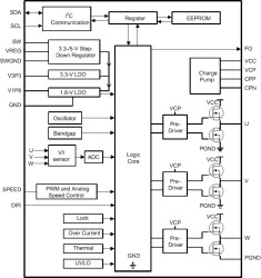
The DRV10975 device is a three-phase sensorless motor driver with integrated power MOSFETs, which can provide continuous drive current up to 1.5 A. The device is specifically designed for cost-sensitive, low-noise, low-external-component-count applications.

The DRV10975 device uses a proprietary sensorless control scheme to provide continuous sinusoidal drive, which significantly reduces the pure tone acoustics that typically occur as a result of commutation. The interface to the device is designed to be simple and flexible. The motor can be controlled directly through PWM, analog, or I2C inputs. Motor speed feedback is available through either the FG pin or I2C.

The DRV10975 device features an integrated step-down regulator to efficiently step down the supply voltage to either 5 or 3.3 V for powering both internal and external circuits. The device is available in either a sleep mode or a standby mode version to conserve power when the motor is not running. The standby mode (4.5-mA) version leaves the regulator running and the sleep mode (80-µA) version shuts it off. Use the standby mode version in applications where the regulator is used to power an external microcontroller.

TI provides DRV10975 tuning Guide for quick setup and tuning of the device for optimal performance.

An I2C interface allows the user to reprogram specific motor parameters in registers and program the EEPROM to help optimize the performance for a given application. The DRV10975 device is available in a thermally efficient HTSSOP, 24-pin package with an exposed thermal pad. The operating temperature is specified from –40°C to 125°C.

Elecena nie prowadzi sprzedaży elementów elektronicznych, ani w niej nie pośredniczy.

Produkt pochodzi z oferty sklepu