elecena.pl

Dual 12-Bit (8-Bit Byte) Double-Buffered CMOS D/A Converter

Analog Devices

Dual 12-Bit (8-Bit Byte) Double-Buffered CMOS D/A Converter RSS Sample
  • Darmowa próbka
MPN:
DAC8248
Producent:
ANALOG DEVICES
Dodany do bazy:
Ostatnio widziany:
Zmiana ceny:
-100% (22.01.2025)
Poprzednia cena:
35.50

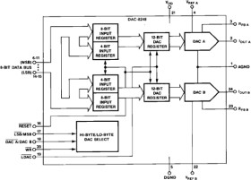
The DAC8248 is a dual 12-bit, double-buffered, CMOS digital-to-analog converter. It has an 8-bit wide input data port that interfaces directly with 8-bit microprocessors. It loads a 12-bit word in two bytes using a single control; it can accept either a least significant byte or most significant byte first. For designers with a 12-bit or 16-bit wide data path, choose the DAC8222 or DAC8221.

The DAC8248's double-buffered digital inputs allow both DAC's analog output to be updated simultaneously. This is particularly useful in multiple DAC systems where a common LDAC signal updates all DACs at the same time. A single RESET pin resets both outputs to zero.

The DAC8248's monolithic construction offers excellent DAC-to-DAC matching and tracking over the full operating temperature range. The DAC consists of two thin-film R-2R resistor ladder networks, two 12-bit, two 8-bit, and two 4-bit data registers, and control logic circuitry. Separate reference input and feedback resistors are provided for each DAC. The DAC8248 operates on a single supply from +5 V to +15 V, and it dissipates less than 0.5 mW at +5 V (using zero or VDD logic levels). The device is packaged in a space-saving 0.3", 24-pin DIP.

The DAC-8248 is manufactured with PMI's highly-stable thin-film resistors on an advanced oxide-isolated, silicon-gate, CMOS technology. PMI's improved latch-up resistant design eliminates the need for external protective Schoottky diodes.

APPLICATIONS

* Multichannel Microprocessor-Controlled Systems

* Robotics/Process Control/Automation

* Automatic Test Equipment

* Programmable Attenuator, Power Supplies, Window Comparators

* Instrumentation Equipment

* Battery Operated Equipment

* Two Matched 12-Bit DACs on One Chip

* 12-Bit Resolution with an 8-Bit Data Bus

* Direct Interface with 8-Bit Microprocessors

* Double-Buffered Digital Inputs

* RESET to Zero Pin

* 12-Bit Endpoint Linearity (±1/2 LSB) Over Temperature

Elecena nie prowadzi sprzedaży elementów elektronicznych, ani w niej nie pośredniczy.

Produkt pochodzi z oferty sklepu