elecena.pl

Quad 8-Bit Multiplying CMOS D/A Converter with Memory

Analog Devices

Quad 8-Bit Multiplying CMOS D/A Converter with Memory RSS Sample
  • Darmowa próbka
MPN:
DAC8408
Producent:
ANALOG DEVICES
Dodany do bazy:
Ostatnio widziany:
Zmiana ceny:
-100% (19.01.2025)
Poprzednia cena:
18.77

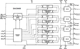
The DAC8408 is a monolithic quad 8-bit multiplying digital-to-analog CMOS converter. Each DAC has its own reference input, feedback resistor, and onboard data latches that feature read/write capability. The readback function serves as memory for those systems requiring self-diagnostics.

A common 8-bit TTL/CMOS compatible input port is used to load data into any of the four DAC data-latches. Control lines DS1, DS2, and A/B determine which DAC will accept data. Data loading is similar to that of a RAMs write cycle. Data can be read back onto the same data bus with control line R/W. The DAC8408 is bus compatible with most 8-bit microprocessors, including the 6800, 8080, 8085, and Z80. The DAC8408 operates on a single +5 volt supply and dissipates less than 20 mW. The DAC8408 is manufactured using PMI's highly stable, thin-film resistors on an advanced oxide-isolated, silicon-gate, CMOS process. PMI's improved latch-up resistant design eliminates the need for external protective Schottky diodes.

APPLICATIONS

* Voltage Set Points in Automatic Test Equipment

* Systems Requiring Data Access for Self-Diagnostics

* Industrial Automation

* Multichannel Microprocessor-Controlled Systems

* Digitally Controlled Op Amp Offset Adjustment

* Process Control

* Digital Attenuators

* Four DACs in a 28 Pin, 0.6 Inch Wide DIP or 28-Pin JEDEC Plastic Chip Carrier

* ±1/4 LSB Endpoint Linearity

* Guaranteed Monotonic

* DACs Matched to Within 1%

* Microprocessor Compatible

* Read/Write Capability (with Memory)

Elecena nie prowadzi sprzedaży elementów elektronicznych, ani w niej nie pośredniczy.

Produkt pochodzi z oferty sklepu