elecena.pl

14-Bit CCD Signal Processor with ™ Generator

Analog Devices

14-Bit CCD Signal Processor with ™ Generator RSS Sample
  • Darmowa próbka
MPN:
AD9970
Producent:
ANALOG DEVICES
Dodany do bazy:
Ostatnio widziany:

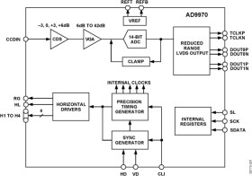
The AD9970 is a highly integrated CCD signal processor for high speed digital video camera applications. Specified at pixel rates of up to 65 MHz, the AD9970 consists of a complete analog front end with analog-to-digital conversion combined with a programmable timing driver. The Precision Timing core allows adjustment of high speed clocks with 240 ps resolution at 65 MHz operation. The AD9970 also contains a reduced range LVDS interface for data outputs.

The analog front end includes black level clamping, CDS, VGA, and a 65 MSPS, 14-bit ADC. The timing driver provides the high speed CCD clock drivers for RG, HL, and H1 to H4. Operation is programmed using a 3-wire serial interface.

Packaged in a space-saving 5 mm × 5 mm, 32-lead LFCSPVQ, the AD9970 is specified over an operating temperature range of −25°C to +85°C.

For more information about the AD9970, contact Analog Devices via email at afe.ccd@analog.com.

APPLICATIONS

* Professional HDTV camcorders

* Professional/high end digital cameras

* Broadcast cameras

* Industrial high speed cameras

* High speed data acquisition systems

* 1.8 V analog and digital core supply voltage

* Serial data link with reduced range

* LVDS outputs

* Correlated double sampler (CDS) with −3 dB, 0 dB, +3 dB, and +6 dB gain

* 6 dB to 42 dB, 10-bit variable gain amplifier (VGA)

* 14-bit, 65 MHz ADC

Elecena nie prowadzi sprzedaży elementów elektronicznych, ani w niej nie pośredniczy.

Produkt pochodzi z oferty sklepu