elecena.pl

Dual-Channel, 14-bit, CCD Signal Processor with ™ Core

Analog Devices

Dual-Channel, 14-bit, CCD Signal Processor with ™ Core RSS Sample
  • Darmowa próbka
MPN:
AD9974
Producent:
ANALOG DEVICES
Dodany do bazy:
Ostatnio widziany:

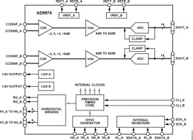
The AD9974 is a highly integrated dual-channel CCD signal processor for high speed digital video camera applications. Each channel is specified at pixel rates of up to 65 MHz. The AD9974 consists of a complete analog front end with analog-to-digital conversion combined with a programmable timing driver. The Precision Timing core allows adjustment of high speed clocks with approximately 240 ps resolution at 65 MHz operation.

Each analog front end includes black level clamping, CDS, VGA, and a 65 MSPS, 14-bit ADC. The timing driver provides the high speed CCD clock drivers for the RGA, RGB, H1A to H4A, and H1B to H4B outputs. A 3-wire serial interface is used to program each channel of the AD9974.

Available in a space-saving, 9 mm × 9 mm, CSPBGA package, the AD9974 is specified over an operating temperature range of −25°C to +85°C.

APPLICATIONS

* Professional HDTV camcorders

* Professional/high-end digital cameras

* Broadcast cameras

* Industrial high speed cameras

* 1.8 V analog and digital core supply voltage

* Correlated double sampler (CDS) with −3 dB, 0 dB, +3 dB, and +6 dB gain

* 6 dB to 42 dB, 10-bit variable gain amplifier (VGA)

* 14-bit, 65 MHz analog-to-digital converter (ADC)

* Black level clamp with variable level control

* Complete on-chip timing generator

Elecena nie prowadzi sprzedaży elementów elektronicznych, ani w niej nie pośredniczy.

Produkt pochodzi z oferty sklepu