elecena.pl

Octal, 16-Bit DAC+ with IC Interface

Analog Devices

Octal, 16-Bit DAC+ with IC Interface RSS Sample
  • Darmowa próbka
MPN:
AD5675
Producent:
ANALOG DEVICES
Dodany do bazy:
Ostatnio widziany:
Zmiana ceny:
-100% (20.01.2025)
Poprzednia cena:
9.41

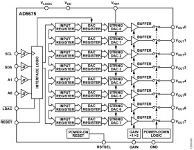
The AD5675 is a low power, octal, 16-bit buffered voltage output digital-to-analog converter (DAC). The device includes a gain select pin, giving a full-scale output of VREF (gain = 1) or 2 × VREF (gain = 2). The device operates from a single 2.7 V to 5.5 V supply and is guaranteed monotonic by design. The AD5675 is available in 20-lead TSSOP and LFCSP packages. The power-on reset circuit and a RSTSEL pin ensure that the output DACs power up to zero scale or midscale and remain there until a valid write takes place. The AD5675 contains a power-down mode, reducing the current consumption to 1 µA typical while in power-down mode. The AD5675 uses a versatile 2-wire serial interface that operates at clock rates up to 400 kHz, and includes a VLOGIC pin intended for 1.8 V to 5.5 V logic.

Applications

* Optical transceivers

* Base station power amplifiers

* Process control (PLC input/output cards)

* Industrial automation

* Data acquisition systems

* High performance

* High relative accuracy (INL): ±3 LSB maximum at 16 bits

* Total unadjusted error (TUE): ±0.14% of FSR maximum

* Offset error: ±1.5 mV maximum

* Gain error: ±0.06% of FSR maximum

* Wide operating ranges

* −40°C to +125°C temperature range

* 2.7 V to 5.5 V power supply

* Easy implementation

* User selectable gain of 1 or 2 (GAIN pin/bit)

* 1.8 V logic compatibility

* I2C-compatible serial interface

* Robust 2 kV HBM and 1.5 kV FICDM ESD rating

* 20-lead TSSOP and LFCSP RoHS-compliant packages

Elecena nie prowadzi sprzedaży elementów elektronicznych, ani w niej nie pośredniczy.

Produkt pochodzi z oferty sklepu