elecena.pl

Programmable 2-PLL clock synthesizer with spread spectrum capability

Texas Instruments

Programmable 2-PLL clock synthesizer with spread spectrum capability RSS Sample
  • Darmowa próbka
MPN:
CDCEL824
Producent:
TEXAS INSTRUMENTS
Dodany do bazy:
Ostatnio widziany:

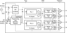
The CDCEL824 is a modular PLL-based low-cost, high-performance, programmable clock synthesizer, multiplier, and divider. It generates up to four output clocks from a single input frequency. Each output can be programmed in-system for any clock frequency up to 201 MHz, using up to two independent configurable PLLs.

The CDCEL824 has a separate output supply pins, VDDOUT, which are 1.8 V.

The input accepts an external crystal or LVCMOS clock signal. In case of a crystal input, an on-chip load capacitor is adequate for most applications. The value of the load capacitor is programmable from 0 pF to 20 pF.

The deep M/N divider ratio allows the generation of zero-ppm audio/video, networking (WLAN, Bluetooth, Ethernet, GPS) or interface (USB, IEEE1394, memory stick) clocks from a 27-MHz reference input frequency, for example.

Based on the PLL frequency and the divider settings, the internal loop filter components are automatically adjusted to achieve high stability and optimized jitter transfer characteristic of each PLL.

The device supports nonvolatile EEPROM programming for easy customization of the device in the application. It is preset to a factory default configuration and can be reprogrammed to a different application configuration before it goes onto the PCB or reprogrammed by in-system programming. All device settings are programmable through the SDA/SCL bus, a 2-wire serial interface.

Three free programmable control inputs, S0, S1, and S2, can be used to select different frequencies, or other control features like outputs disable to low, outputs in high-impedance state, power down, PLL bypass, and so forth.

The CDCx824 operates in a 1.8-V environment in a temperature range of –40°C to 85°C.

Elecena nie prowadzi sprzedaży elementów elektronicznych, ani w niej nie pośredniczy.

Produkt pochodzi z oferty sklepu