Low-power, robust gigabit Ethernet PHY transceiver in a small QFN package
Texas Instruments
RSS
Sample
- Darmowa próbka
- MPN:
- DP83867CR
- Producent:
- TEXAS INSTRUMENTS
- Dodany do bazy:
- Ostatnio widziany:
Sugerowane produkty dla dp83867
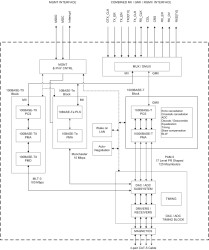
The DP83867 device is a robust, low power, fully featured Physical Layer transceiver with integrated PMD sublayers to support 10BASE-Te, 100BASE-TX and 1000BASE-T Ethernet protocols. Optimized for ESD protection, the DP83867 exceeds 8kV IEC 61000-4-2 (direct contact).
The DP83867 is designed for easy implementation of 10/100/1000Mbps Ethernet LANs. DP83867 interfaces directly to twisted pair media via an external transformer. This device interfaces directly to the MAC layer through the IEEE 802.3 Standard Media Independent Interface (MII), the IEEE 802.3 Gigabit Media Independent Interface (GMII) or Reduced GMII (RGMII). The QFP package supports MII/GMII/RGMII whereas the QFN package supports RGMII.
The DP83867 provides precision clock synchronization, including a synchronous Ethernet clock output. DP83867 has low latency and provides IEEE 1588 Start of Frame Detection.
The DP83867 consumes only 490mW (PAP) and 457mW (RGZ) under full operating power. Wake on LAN can be used to lower system power consumption.
Elecena nie prowadzi sprzedaży elementów elektronicznych, ani w niej nie pośredniczy.
Produkt pochodzi z oferty sklepu Texas Instruments