elecena.pl

Capacitive Touch MCU with 16 touch IO (24 sensors), 16KB FRAM, 2KB SRAM, 19 IO, 10-bit ADC

Texas Instruments

Capacitive Touch MCU with 16 touch IO (24 sensors), 16KB FRAM, 2KB SRAM, 19 IO, 10-bit ADC RSS Sample
  • Darmowa próbka
MPN:
MSP430FR2533
Producent:
TEXAS INSTRUMENTS
Dodany do bazy:
Ostatnio widziany:

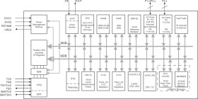
The MSP430FR263x and MSP430FR253x are ultra-low-power MSP430™ microcontrollers for capacitive touch sensing that feature CapTIvate™ touch technology for buttons, sliders, wheels, and proximity applications. MSP430 MCUs with CapTIvate technology provide the most integrated and autonomous capacitive-touch solution in the market with high reliability and noise immunity at the lowest power. TI’s capacitive touch technology supports concurrent self-capacitance and mutual-capacitance electrodes on the same design for maximum flexibility. MSP430 MCUs with CapTIvate technology operate through thick glass, plastic enclosures, metal, and wood with operation in harsh environments including wet, greasy, and dirty environments.

TI capacitive touch sensing MSP430 MCUs are supported by an extensive hardware and software ecosystem with reference designs and code examples to get your design started quickly. Development kits include the MSP-CAPT-FR2633 CapTIvate technology development kit. TI also provides free software including the CapTIvate Design Center, where engineers can quickly develop applications with an easy-to-use GUI and MSP430Ware™ software and comprehensive documentation with the CapTIvate Technology Guide.

TI’s MSP430 ultra-low-power (ULP) FRAM microcontroller platform combines uniquely embedded FRAM and a holistic ultra-low-power system architecture, allowing system designers to increase performance while lowering energy consumption. FRAM technology combines the low-energy fast writes, flexibility, and endurance of RAM with the nonvolatility of flash.

For complete module descriptions, see the MSP430FR4xx and MSP430FR2xx Family User’s Guide.

Elecena nie prowadzi sprzedaży elementów elektronicznych, ani w niej nie pośredniczy.

Produkt pochodzi z oferty sklepu