High-side n-channel FET driver
Texas Instruments
RSS
Sample
- Darmowa próbka
- MPN:
- BQ76200
- Producent:
- TEXAS INSTRUMENTS
- Dodany do bazy:
- Ostatnio widziany:
Sugerowane produkty dla bq76920
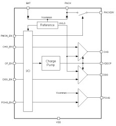
The bq76200 device is a low-power, high-side, N-channel system. A high-side protection avoids ground disconnection in the system and also allows continuous communication between the battery pack and host system. The device has additional P-Channel FET control to allow low-current pre-charge to a deeply depleted battery, and a PACK+ voltage monitor control for the host to sense the PACK+ voltage.
The independent enable inputs allow CHG and DSG FETs to be turned on and off separately, offering great implementation flexibility in battery systems.
The bq76200 device can be used with a companion analog front end (AFE) device such as the bq76920/30/40 family, a 3-series to 15-series Cell Analog Front End Monitoring, and a host microcontroller or dedicated state-of-charge (SOC) tracking gas gauge device.
Elecena nie prowadzi sprzedaży elementów elektronicznych, ani w niej nie pośredniczy.
Produkt pochodzi z oferty sklepu Texas Instruments