elecena.pl

Integrated backlight driver with LCD Bias

Texas Instruments

Integrated backlight driver with LCD Bias RSS Sample
  • Darmowa próbka
MPN:
LM36274
Producent:
TEXAS INSTRUMENTS
Dodany do bazy:
Ostatnio widziany:

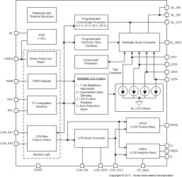
The LM36274 is an integrated four-channel WLED driver and LCD bias supply. The ultra-compact size, high efficiency, high level of integration, and programmability allow the LM36274 to address a variety of applications without the need for hardware changes while minimizing the overall solution area.

The backlight boost provides the power to bias four parallel LED strings with up to 29-V total output voltage. The 11-bit LED current is programmable via the I2C bus and/or controlled via a logic level PWM input from 60 µA to 30 mA. Each LED string can be independently enabled or disabled to provide zone dimming capabilities. The backlight boost can be operated efficiently with an inductance range from 4.7 µH to 15 µH, allowing for efficiency and solution size optimization.

The LCD bias boost provides the power to both a positive LDO and an inverting charge pump. Both positive and negative bias supplies have programmable output voltages of ±4 V to ±6.5 V with 50-mV steps and up to ±80 mA of current capability. An auto-sequencing feature provides a programmed delay from positive to negative bias activation, with additional programmable voltage slew rate control. Two wake-up modes allow both bias outputs to be controlled with a single external signal and stay active while consuming very low quiescent current.

Elecena nie prowadzi sprzedaży elementów elektronicznych, ani w niej nie pośredniczy.

Produkt pochodzi z oferty sklepu