Automotive 16-channel FM+ I2C-Bus constant-current LED sink driver
Texas Instruments
RSS
Sample
- Darmowa próbka
- MPN:
- TLC59116-Q1
- Producent:
- TEXAS INSTRUMENTS
- Dodany do bazy:
- Ostatnio widziany:
Sugerowane produkty dla tlc59116
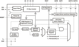
The TLC59116-Q1 is an I2C-Bus controlled 16-channel LED driver that is optimized for red/green/blue/amber (RGBA) color mixing and backlight application. Each LED output has its own 8-bit resolution (256 steps) fixed-frequency individual PWM controller that operates at 97-kHz, with a duty cycle that is adjustable from 0% to 99.6%.
The individual PWM controller allows each LED to be set to a specific brightness value. An additional 8-bit resolution (256 steps) group PWM controller has both a fixed frequency of 190-Hz and an adjustable frequency between 24-Hz to once every 10.73 seconds, with a duty cycle that is adjustable from 0% to 99.6%. The group PWM controller dims or blinks all LEDs with the same value.
Each LED output can be off, on (no PWM control), or set at its individual PWM controller value at both individual and group PWM controller values.
The TLC59116-Q1 operates with a supply voltage range of 3 V to 5.5 V and the outputs are 17 V tolerant. LEDs can be directly connected to the TLC59116-Q1 device outputs.
Software programmable LED Group and three Sub Call I2C-Bus addresses allow all or defined groups of TLC59116-Q1 devices to respond to a common I2C Bus address, allowing for example, all the same color LEDs to be turned on or off at the same time or marquee chasing effect, thus minimizing I2C Bus commands.
Four hardware address pins allow up to 14 devices on the same Bus.
The Software Reset (SWRST) Call allows the master to perform a reset of the TLC59116-Q1 through the I2C Bus, identical to the Power-On Reset (POR) that initializes the registers to their default state causing the outputs to be set high (LED off). This allows an easy and quick way to reconfigure all device registers to the same condition.
Elecena nie prowadzi sprzedaży elementów elektronicznych, ani w niej nie pośredniczy.
Produkt pochodzi z oferty sklepu Texas Instruments