16 MHz MCU with 4KB FRAM, 1KB SRAM, comparator, 10-bit ADC, UART/SPI, timer
Texas Instruments
RSS
Sample
- Darmowa próbka
- MPN:
- MSP430FR2111
- Producent:
- TEXAS INSTRUMENTS
- Dodany do bazy:
- Ostatnio widziany:
Sugerowane produkty dla ultralowpower
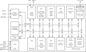
MSP430FR2000 and MSP430FR21xx devices are part of the MSP430™ microcontroller (MCU) value line sensing portfolio. This ultra-low-power, low-cost MCU family offers memory sizes from 0.5KB to 4KB of FRAM unified memory with several package options including a small 3-mm×3-mm VQFN package. The architecture, FRAM, and integrated peripherals, combined with extensive low-power modes, are optimized to achieve extended battery life in portable, battery-powered sensing applications. MSP430FR2000 and MSP430FR21xx devices offer a migration path for 8-bit designs to gain additional features and functionality from peripheral integration and the data-logging and low-power benefits of FRAM. Additionally, existing designs using MSP430G2x MCUs can migrate to the MSP430FR2000 and MSP430F21xx family to increase performance and get the benefits of FRAM.
The MSP430FR2000 and MSP430FR21xx MCUs feature a powerful 16-bit RISC CPU, 16-bit registers, and a constant generator that contribute to maximum code efficiency. The digitally controlled oscillator (DCO) also allows the device to wake up from low-power modes to active mode typically in less than 10 µs. The feature set of this MCU meets the needs of applications ranging from appliance battery packs and battery monitoring to smoke detectors and fitness accessories.
The MSP ultra-low-power (ULP) FRAM microcontroller platform combines uniquely embedded FRAM and a holistic ultra-low-power system architecture, allowing system designers to increase performance while lowering energy consumption. FRAM technology combines the low-energy fast writes, flexibility, and endurance of RAM with the nonvolatile behavior of flash.
MSP430FR2000 and MSP430FR21x MCUs are supported by an extensive hardware and software ecosystem with reference designs and code examples to get your design started quickly. Development kits include the MSP-EXP430FR2311 and MSP430FR4133 LaunchPad™ development kit and the MSP‑TS430PW20 20-pin target development board. TI also provides free MSP430Ware™ software, which is available as a component of Code Composer Studio™ IDE desktop and cloud versions within TI Resource Explorer. MSP430 MCUs are also supported by extensive online collateral, such as our housekeeping example series, MSP Academy training, and online support through the TI E2E™ support forums.
For complete module descriptions, see the MSP430FR4xx and MSP430FR2xx Family Users Guide.
Elecena nie prowadzi sprzedaży elementów elektronicznych, ani w niej nie pośredniczy.
Produkt pochodzi z oferty sklepu Texas Instruments