elecena.pl

2 MP MIPI® CSI-2 FPD-Link III serializer for 2MP/60fps cameras & radar

Texas Instruments

2 MP MIPI® CSI-2 FPD-Link III serializer for 2MP/60fps cameras & radar RSS Sample
  • Darmowa próbka
MPN:
DS90UB953-Q1
Producent:
TEXAS INSTRUMENTS
Dodany do bazy:
Ostatnio widziany:

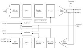
The DS90UB953-Q1 serializer is part of TI’s FPD-Link III device family designed to support high-speed raw data sensors including 2.3MP imagers at 60fps and as well as 4MP, 30fps cameras, satellite RADAR, LIDAR, and Time-of-Flight (ToF) sensors. The chip delivers a 4.16Gbps forward channel and an ultra-low latency, 50Mbps bidirectional control channel and supports power over a single coax (PoC) or STP cable. The DS90UB953-Q1 features advanced data protection and diagnostic features to support ADAS and autonomous driving. Together with a companion deserializer, the DS90UB953-Q1 delivers precise multi-camera sensor clock and sensor synchronization.

The DS90UB953-Q1 is fully AEC-Q100 qualified with a -40°C to 105°C wide temperature range. The serializer comes in a small 5mm × 5mm VQFN package for space-constrained sensor applications.

Elecena nie prowadzi sprzedaży elementów elektronicznych, ani w niej nie pośredniczy.

Produkt pochodzi z oferty sklepu