Isolated Sigma-Delta Modulator
Analog Devices
RSS
Sample
- Darmowa próbka
- MPN:
- AD7400A
- Producent:
- ANALOG DEVICES
- Dodany do bazy:
- Ostatnio widziany:
- Zmiana ceny:
- -100% (18.01.2025)
- Poprzednia cena:
- 3.69
Sugerowane produkty dla ad7400a
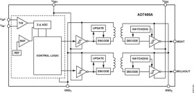
The AD7400A is a second-order, Σ-Δ modulator that converts an analog input signal into a high speed, 1-bit data stream with on-chip digital isolation based on Analog Devices, Inc., iCoupler® technology. The AD7400A operates from a 5 V power supply and accepts a differential input signal of ±250 mV (±320 mV full scale). The analog input is sampled continuously by the analog modulator, eliminating the need for external sample-and-hold circuitry. The input information is contained in the output stream as a density of ones with a data rate of 10 MHz. The original information can be reconstructed with an appropriate digital filter. The serial I/O can use a 5 V or a 3 V supply (VDD2).
The serial interface is digitally isolated. High speed CMOS, combined with monolithic air core transformer technology, means the on-chip isolation provides outstanding performance characteristics superior to alternatives such as optocoupler devices. The part contains an on-chip reference and has an operating temperature range of −40°C to +125°C. The AD7400A is offered in an 8-lead surface-mount PDIP with gull wing leads and a 16-lead SOIC package.
Applications
* AC motor controls
* Shunt current monitoring
* Data acquisition systems
* Analog-to-digital and opto-isolator replacements
* 10 MHz clock rate
* Second-order modulator
* 16 bits no missing codes
* ±2 LSB INL typical at 16 bits
* 1.5 μV/°C typical offset drift
Elecena nie prowadzi sprzedaży elementów elektronicznych, ani w niej nie pośredniczy.
Produkt pochodzi z oferty sklepu Analog Devices