elecena.pl

617 0.58 PLN 14483.41 PLN
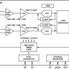
  1. Dual-Channel, 14-Bit CCD Signal Processor with Core Sample
    Do sklepu »

    Dual-Channel, 14-Bit CCD Signal Processor with Core

    ... cameras Data Sheet, Rev. SpB, 9/08 * Dual AFE ...
    • Darmowa próbka
    Sklep:
    Analog Devices
    Producent:
    ANALOG DEVICES
    MPN:
    AD9978
    Dodany:
  2. Sample
    Do sklepu »

    64Mbit, 2.7V Minimum SPI Serial Flash Memory with Dual I/O Support

    The AT25SF641B is a member of our standard class ...
    • Darmowa próbka
    Sklep:
    Intersil
    Producent:
    Renesas Electronics
    MPN:
    AT25SF641B-SPB-T
    Dodany:
  3. 0.58 x100
    Do sklepu »

    D-1600-SPB

    Złącze D-1600-SPB
    Sklep:
    TME
    Producent:
    HIROSE
    MPN:
    D-1600-SPB
    Dodany:
    Zmiana ceny:
    -1.05%
    Min. zamówienie:
    100 szt.
  4. Ceny od 10 zł
  5. 20N60C3-SPB TO-220 20A/650V/208W Rds=0,2 10.00
    Do sklepu »

    20N60C3-SPB TO-220 20A/650V/208W Rds=0,2

    Sklep:
    Monster
    Obudowa:
    TO-220
    Dodany:
  6. Podstawa bezpiecznikowa 1P 32A DC 10x38 1000V APV-SPB-1P 10.65
    Do sklepu »

    Podstawa bezpiecznikowa 1P 32A DC 10x38 1000V APV-SPB-1P

    ... Kod produktu: APV-SPB-1P Podstawa bezpiecznikowa ...
    Sklep:
    TIM SA
    Producent:
    Adelid
    MPN:
    APV-SPB-1P
    ISBN:
    5900378970644
    Dodany:
    Zmiana ceny:
    +2.5%
  7. Podstawa Bezpiecznikowa 1P 32A Dc 10X38 1000V Apv-Spb-1P 12.10
    Do sklepu »

    Podstawa Bezpiecznikowa 1P 32A Dc 10X38 1000V Apv-Spb-1P

    Sklep:
    ELEKTRONEST
    Producent:
    Adelid
    Dodany:
    Zmiana ceny:
    +10%
  8. GASIRON2-SPB GROT LUT.GAZ.GASIRON2 14.00
    Do sklepu »

    GASIRON2-SPB GROT LUT.GAZ.GASIRON2

    Sklep:
    Monster
    Dodany:
    Zmiana ceny:
    +3.63%
  9. 20N60S5-SPB 20A/600V/208W Rds=0,19 TO-26 16.00
    Do sklepu »

    20N60S5-SPB 20A/600V/208W Rds=0,19 TO-26

    Sklep:
    Monster
    Obudowa:
    TO-26
    Dodany:
    Zmiana ceny:
    +7%
  10. 20N60S3-SPB TO-263 20A/650V/208W Rds=0,2 16.00
    Do sklepu »

    20N60S3-SPB TO-263 20A/650V/208W Rds=0,2

    Sklep:
    Monster
    Obudowa:
    TO-263
    Dodany:
    Zmiana ceny:
    +7%
  11. SPB-30-RGB-24 16.85 x30
    Do sklepu »

    SPB-30-RGB-24

    Taśma LED; RGB; LED/m: 30; 10mm; IP20; 120°; 7,2W ...
    Sklep:
    TME
    Producent:
    FOSE
    MPN:
    SPB-30-RGB-24
    Dodany:
    Zmiana ceny:
    +0.01%
    Min. zamówienie:
    30 szt.
  12. Taśma 30LED/m 1m 24V 7.2W RGB IP20 275lm 10mm SPB-30-RGB-24 16.90
    Do sklepu »

    Taśma 30LED/m 1m 24V 7.2W RGB IP20 275lm 10mm SPB-30-RGB-24

    Wielokolorowa taśma LED do pracy ciągłej. Diody z ...
    Sklep:
    TIM SA
    Producent:
    FOSE
    MPN:
    SPB-30-RGB-24
    ISBN:
    5901289753166
    Dodany:
    Zmiana ceny:
    +0.9%
  13. Taśma 30LED/m 1m 12V 7.2W RGB IP20 275lm 10mm SPB-30-RGB 16.90
    Do sklepu »

    Taśma 30LED/m 1m 12V 7.2W RGB IP20 275lm 10mm SPB-30-RGB

    Wielokolorowa taśma LED do pracy ciągłej. Diody z ...
    Sklep:
    TIM SA
    Producent:
    FOSE
    MPN:
    SPB-30-RGB
    ISBN:
    5901289753807
    Dodany:
    Zmiana ceny:
    +0.9%
  14. Taśma 30Led/M 1M 24V 7.2W Rgb Ip20 275Lm 10Mm Spb-30-Rgb-24 17.71
    Do sklepu »

    Taśma 30Led/M 1M 24V 7.2W Rgb Ip20 275Lm 10Mm Spb-30-Rgb-24

    Sklep:
    ELEKTRONEST
    Producent:
    TANASIS STAL
    Dodany:
    Zmiana ceny:
    +1.08%
  15. Taśma 30Led/M 1M 12V 7.2W Rgb Ip20 275Lm 10Mm Spb-30-Rgb 17.71
    Do sklepu »

    Taśma 30Led/M 1M 12V 7.2W Rgb Ip20 275Lm 10Mm Spb-30-Rgb

    Sklep:
    ELEKTRONEST
    Producent:
    TANASIS STAL
    Dodany:
    Zmiana ceny:
    +1.08%
  16. Podstawa bezpiecznikowa 1P 32A DC 10x38 + LED APV-SPB-1P-LED 18.18
    Do sklepu »

    Podstawa bezpiecznikowa 1P 32A DC 10x38 + LED APV-SPB-1P-LED

    ... produktu: APV-SPB-1P-LED ... Przełącznik SPB ...
    Sklep:
    TIM SA
    Producent:
    Adelid
    MPN:
    APV-SPB-1P-LED
    ISBN:
    5900378971061
    Dodany:
    Zmiana ceny:
    +2.48%