elecena.pl

473 0.73 PLN 11357.71 PLN
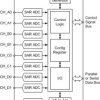
  1. 12-Bit 8-Channel Simultaneous-Sampling Bipolar-Input ADC Sample
    Do sklepu »

    12-Bit 8-Channel Simultaneous-Sampling Bipolar-Input ADC

    The ADS85x8 contain eight low-power, 12-, 14-, or ...
    • Darmowa próbka
    Sklep:
    Texas Instruments
    Producent:
    TEXAS INSTRUMENTS
    MPN:
    ADS8528
    Dodany:
  2. 730kSPS 12-Bit 6-Channel Simultaneous-Sampling ADC Sample
    Do sklepu »

    730kSPS 12-Bit 6-Channel Simultaneous-Sampling ADC

    The ADS855x contains six low-power, 16-, 14-, or ...
    • Darmowa próbka
    Sklep:
    Texas Instruments
    Producent:
    TEXAS INSTRUMENTS
    MPN:
    ADS8558
    Dodany:
  3. 20-Bit Delta-Sigma Low Power Digital-To-Analog Converter Sample
    Do sklepu »

    20-Bit Delta-Sigma Low Power Digital-To-Analog Converter

    The DAC1220 is a 20-bit digital-to-analog (D/A ...
    • Darmowa próbka
    Sklep:
    Texas Instruments
    Producent:
    TEXAS INSTRUMENTS
    MPN:
    DAC1220
    Dodany:
  4. 16-Bit, High Speed, Low Noise, Voltage Output, Digital to Analog Converter Sample
    Do sklepu »

    16-Bit, High Speed, Low Noise, Voltage Output, Digital to Analog Converter

    The DAC8580 is a 16-bit, high-speed, low-noise, ...
    • Darmowa próbka
    Sklep:
    Texas Instruments
    Producent:
    TEXAS INSTRUMENTS
    MPN:
    DAC8580
    Dodany:
  5. 12-bit Digital-to-Analog Converter w/Parallel Interface Sample
    Do sklepu »

    12-bit Digital-to-Analog Converter w/Parallel Interface

    The DAC811 is a complete, single-chip integrated- ...
    • Darmowa próbka
    Sklep:
    Texas Instruments
    Producent:
    TEXAS INSTRUMENTS
    MPN:
    DAC811
    Dodany:
  6. Microprocessor-Compatible 12-Bit D/A Converter Sample
    Do sklepu »

    Microprocessor-Compatible 12-Bit D/A Converter

    The DAC813 is a complete monolithic 12-bit digital ...
    • Darmowa próbka
    Sklep:
    Texas Instruments
    Producent:
    TEXAS INSTRUMENTS
    MPN:
    DAC813
    Dodany:
  7. 3.3-V/5-V Dual Universal Asynchronous Receiver/Transmitter Sample
    Do sklepu »

    3.3-V/5-V Dual Universal Asynchronous Receiver/Transmitter

    The TL28L92 operates at 3.3V or 5V supply with ...
    • Darmowa próbka
    Sklep:
    Texas Instruments
    Producent:
    TEXAS INSTRUMENTS
    MPN:
    TL28L92
    Dodany:
  8. Octal LVDS receiver Sample
    Do sklepu »

    Octal LVDS receiver

    This family of 4-, 8-, or 16-differential line ...
    • Darmowa próbka
    Sklep:
    Texas Instruments
    Producent:
    TEXAS INSTRUMENTS
    MPN:
    SN65LVDS388A
    Dodany:
  9. Quad LVDS receiver Sample
    Do sklepu »

    Quad LVDS receiver

    This family of 4-, 8-, or 16-differential line ...
    • Darmowa próbka
    Sklep:
    Texas Instruments
    Producent:
    TEXAS INSTRUMENTS
    MPN:
    SN65LVDS390
    Dodany:
  10. Octal LVDS receiver Sample
    Do sklepu »

    Octal LVDS receiver

    This family of 4-, 8-, or 16-differential line ...
    • Darmowa próbka
    Sklep:
    Texas Instruments
    Producent:
    TEXAS INSTRUMENTS
    MPN:
    SN65LVDT388A
    Dodany:
  11. Quad LVDS receiver Sample
    Do sklepu »

    Quad LVDS receiver

    This family of 4-, 8-, or 16-differential line ...
    • Darmowa próbka
    Sklep:
    Texas Instruments
    Producent:
    TEXAS INSTRUMENTS
    MPN:
    SN65LVDT390
    Dodany:
  12. Octal LVDS receiver Sample
    Do sklepu »

    Octal LVDS receiver

    This family of 4-, 8-, or 16-differential line ...
    • Darmowa próbka
    Sklep:
    Texas Instruments
    Producent:
    TEXAS INSTRUMENTS
    MPN:
    SN75LVDS388A
    Dodany:
  13. Quad LVDS receiver Sample
    Do sklepu »

    Quad LVDS receiver

    This family of 4-, 8-, or 16-differential line ...
    • Darmowa próbka
    Sklep:
    Texas Instruments
    Producent:
    TEXAS INSTRUMENTS
    MPN:
    SN75LVDS390
    Dodany:
  14. 250-Mbps octal LVDS receiver Sample
    Do sklepu »

    250-Mbps octal LVDS receiver

    This family of 4-, 8-, or 16-differential line ...
    • Darmowa próbka
    Sklep:
    Texas Instruments
    Producent:
    TEXAS INSTRUMENTS
    MPN:
    SN75LVDT388A
    Dodany:
  15. 250-Mbps quad LVDS receiver with flow-through pinout Sample
    Do sklepu »

    250-Mbps quad LVDS receiver with flow-through pinout

    This family of 4-, 8-, or 16-differential line ...
    • Darmowa próbka
    Sklep:
    Texas Instruments
    Producent:
    TEXAS INSTRUMENTS
    MPN:
    SN75LVDT390
    Dodany: