elecena.pl

299 3.93 PLN 1212.38 PLN
  1. Sample
    Do sklepu »

    Automotive 3-Channel Display Bias IC with VCOM Buffer, Level Shifter, and IC Interface

    ... needed), and a DAC and VCOM buffer. All blocks on ...
    • Darmowa próbka
    Sklep:
    Analog Devices
    Producent:
    ANALOG DEVICES
    MPN:
    MAX20067B
    Dodany:
    Zmiana ceny:
    -100%
  2. Automotive 4-Channel TFT-LCD Power Supplies with VCOM Buffer Sample
    Do sklepu »

    Automotive 4-Channel TFT-LCD Power Supplies with VCOM Buffer

    ... -Off of All Rails * VCOM Output Range +1V to - ...
    • Darmowa próbka
    Sklep:
    Analog Devices
    Producent:
    ANALOG DEVICES
    MPN:
    MAX25221
    Dodany:
    Zmiana ceny:
    -100%
  3. Automotive 4-Channel TFT-LCD Power Supplies with VCOM Buffer Sample
    Do sklepu »

    Automotive 4-Channel TFT-LCD Power Supplies with VCOM Buffer

    ... -Off of All Rails * VCOM Output Range +1V to - ...
    • Darmowa próbka
    Sklep:
    Analog Devices
    Producent:
    ANALOG DEVICES
    MPN:
    MAX25220
    Dodany:
    Zmiana ceny:
    -100%
  4. Automotive 4-Channel TFT-LCD Power Supply with VCOM Buffer and ASIL B Features Sample
    Do sklepu »

    Automotive 4-Channel TFT-LCD Power Supply with VCOM Buffer and ASIL B Features

    ... -Off of All Rails * VCOM Output Range +1V to - ...
    • Darmowa próbka
    Sklep:
    Analog Devices
    Producent:
    ANALOG DEVICES
    MPN:
    MAX25222
    Dodany:
    Zmiana ceny:
    -100%
  5. Automotive 4-Channel TFT-LCD Power Supplies with VCOM Buffer Sample
    Do sklepu »

    Automotive 4-Channel TFT-LCD Power Supplies with VCOM Buffer

    ... -Off of All Rails * VCOM Output Range +1V to - ...
    • Darmowa próbka
    Sklep:
    Analog Devices
    Producent:
    ANALOG DEVICES
    MPN:
    MAX25221B
    Dodany:
    Zmiana ceny:
    -100%
  6. Automotive 4-Channel TFT-LCD Power Supply with VCOM Buffer and ASIL B Features Sample
    Do sklepu »

    Automotive 4-Channel TFT-LCD Power Supply with VCOM Buffer and ASIL B Features

    ... -Off of All Rails * VCOM Output Range +1V to - ...
    • Darmowa próbka
    Sklep:
    Analog Devices
    Producent:
    ANALOG DEVICES
    MPN:
    MAX25222C
    Dodany:
    Zmiana ceny:
    -100%
  7. Automotive 4-Channel TFT-LCD Power Supplies with VCOM Buffer Sample
    Do sklepu »

    Automotive 4-Channel TFT-LCD Power Supplies with VCOM Buffer

    ... -Off of All Rails * VCOM Output Range +1V to - ...
    • Darmowa próbka
    Sklep:
    Analog Devices
    Producent:
    ANALOG DEVICES
    MPN:
    MAX25221C
    Dodany:
    Zmiana ceny:
    -100%
  8. 128-Tap, Nonvolatile, Linear-Taper Digital Potentiometer in 2mm x 2mm µDFN Package Sample
    Do sklepu »

    128-Tap, Nonvolatile, Linear-Taper Digital Potentiometer in 2mm x 2mm µDFN Package

    ... * Power-Supply Modules * VCOM Adjustment for LCD ...
    • Darmowa próbka
    Sklep:
    Analog Devices
    Producent:
    ANALOG DEVICES
    MPN:
    MAX5128
    Dodany:
  9. Sample
    Do sklepu »

    Digitally Programmable LCD Gamma Reference Generator with Digital Voltage Reference

    ... LCD common backplane (VCOM) voltage. The MAX5679 ...
    • Darmowa próbka
    Sklep:
    Analog Devices
    Producent:
    ANALOG DEVICES
    MPN:
    MAX5679
    Dodany:
  10. 12-Channel Programmable Gamma Reference System Sample
    Do sklepu »

    12-Channel Programmable Gamma Reference System

    ... -LCD displays, as a VCOM reference, or as sources ...
    • Darmowa próbka
    Sklep:
    Analog Devices
    Producent:
    ANALOG DEVICES
    MPN:
    MAX9697
    Dodany:
  11. Sample
    Do sklepu »

    14 Programmable Gamma Reference Buffers with Four Static References for TFT LCDs

    ... resistor (DVR) for VCOM calibration in TFT ...
    • Darmowa próbka
    Sklep:
    Analog Devices
    Producent:
    ANALOG DEVICES
    MPN:
    MAX9694
    Dodany:
  12. Sample
    Do sklepu »

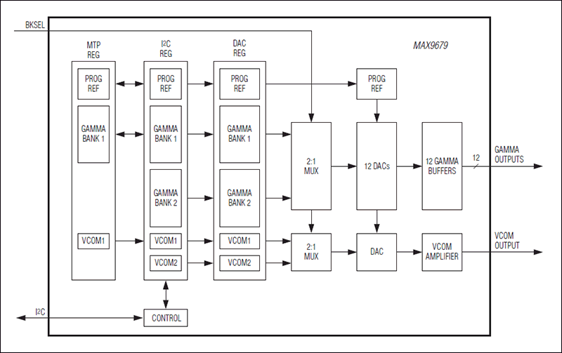
    12-Channel, 10-Bit Programmable Gamma and VCOM Reference Voltages

    ... sets of gamma curves and VCOM codes can be stored ...
    • Darmowa próbka
    Sklep:
    Analog Devices
    Producent:
    ANALOG DEVICES
    MPN:
    MAX9679A
    Dodany:
  13. 12-Channel, 10-Bit Programmable Gamma and VCOM Reference Voltages Sample
    Do sklepu »

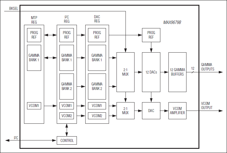
    12-Channel, 10-Bit Programmable Gamma and VCOM Reference Voltages

    ... sets of gamma curves and VCOM codes can be stored ...
    • Darmowa próbka
    Sklep:
    Analog Devices
    Producent:
    ANALOG DEVICES
    MPN:
    MAX9679B
    Dodany:
  14. 12-Channel, 10-Bit Programmable Gamma and VCOM Reference Voltages Sample
    Do sklepu »

    12-Channel, 10-Bit Programmable Gamma and VCOM Reference Voltages

    ... sets of gamma curves and VCOM codes can be stored ...
    • Darmowa próbka
    Sklep:
    Analog Devices
    Producent:
    ANALOG DEVICES
    MPN:
    MAX9679
    Dodany:
  15. Sample
    Do sklepu »

    10-Bit, Programmable Gamma Reference Systems with MTP for TFT LCDs

    ... memory to store gamma and VCOM values on the chip ...
    • Darmowa próbka
    Sklep:
    Analog Devices
    Producent:
    ANALOG DEVICES
    MPN:
    MAX9674
    Dodany: