elecena.pl

Precision Analog Microcontroller, 12-Bit Analog I/O, ARM7TDMI MCU with Enhanced IRQ Handler

Analog Devices

Precision Analog Microcontroller, 12-Bit Analog I/O, ARM7TDMI MCU with Enhanced IRQ Handler RSS Sample
  • Darmowa próbka
MPN:
ADUC7023
Producent:
ANALOG DEVICES
Dodany do bazy:
Ostatnio widziany:
Zmiana ceny:
-100% (17.01.2025)
Poprzednia cena:
3.84

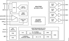
The ADuC7023 is a fully integrated, 1 MSPS, 12-bit data acquisition system, incorporating high performance multichannel ADCs, 16-bit/32-bit MCUs, and Flash/EE memory on a single chip.

The ADC consists of up to 12 single-ended inputs. An additional four inputs are available but are multiplexed with the four DAC output pins. The ADC can operate in single-ended or differential input modes. The ADC input voltage is 0 V to VREF. A low drift band gap reference, temperature sensor, and voltage comparator complete the ADC peripheral set.

The DAC output range is programmable to one of two voltage ranges. The DAC outputs have an enhanced feature of being able to retain their output voltage during a watchdog or software reset sequence.

The devices operate from an on-chip oscillator and a PLL, generating an internal high frequency clock of 41.78 MHz. This clock is routed through a programmable clock divider from which the MCU core clock operating frequency is generated. The microcontroller core is an ARM7TDMI®, 16-bit/32-bit RISC machine that offers up to 41 MIPS peak performance. Eight kilobytes of SRAM and 62 kilobytes of nonvolatile Flash/EE memory are provided on chip. The ARM7TDMI core views all memory and registers as a single linear array.

The ADuC7023 contains an advanced interrupt controller. The vectored interrupt controller (VIC) allows every interrupt to be assigned a priority level. It also supports nested interrupts to a maximum level of eight per IRQ and FIQ. When IRQ and FIQ interrupt sources are combined, a total of 16 nested interrupt levels are supported.

On-chip factory firmware supports in-circuit download via the I2C serial interface port, and non-intrusive emulation is supported via the JTAG interface. These features are incorporated into a low cost QuickStart™ development system supporting this MicroConverter® family. The part contains a 16-bit PWM with five output signals.

For communication purposes, the part contains 2 × I2C channels that can be individually configured for master or slave mode. An SPI interface supporting both master and slave modes is also provided.

The parts operate from 2.7 V to 3.6 V and are specified over an industrial temperature range of −40°C to +125°C. The ADuC7023 is available in either a 32-lead or 40-lead LFCSP package. A 36-ball wafer level CSP package (WLCSP) is also available.

Applications

* Optical networking

* Industrial control and automation systems

* Smart sensors, precision instrumentation

* Base station systems

* Analog I/O

* Multichannel, 12-bit, 1 MSPS ADC

* Up to 12 ADC channels

* Fully differential and single-ended modes

* 0 V to VREF analog input range

* 12-bit voltage output DACs

* 4 DAC outputs available

* On-chip voltage reference

* On-chip temperature sensor

* Voltage comparator

* Microcontroller

* ARM7TDMI core, 16-bit/32-bit RISC architecture

* JTAG port supports code download and debug

* Clocking options

* Trimmed on-chip oscillator (±3%)

* External watch crystal

* External clock source up to 44 MHz

* 41.78 MHz PLL with programmable divider

Elecena nie prowadzi sprzedaży elementów elektronicznych, ani w niej nie pośredniczy.

Produkt pochodzi z oferty sklepu