elecena.pl

PLLatinum dual frequency synthesizer system with integrated VCOs

Texas Instruments

PLLatinum dual frequency synthesizer system with integrated VCOs RSS Sample
  • Darmowa próbka
MPN:
LMX2522
Producent:
TEXAS INSTRUMENTS
Dodany do bazy:
Ostatnio widziany:

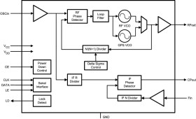
LMX2522 and LMX2532 are highly integrated, high performance, low power frequency synthesizer systems optimized for Korean PCS (K-PCS) with GPS and Korean Cellular (K-Cellular) with GPS, CDMA (1xRTT, IS-95) mobile handsets. Using a proprietary digital phase locked loop technique, LMX2522 and LMX2532 generate very stable, low noise local oscillator signals for up and down conversion in wireless communications devices.

LMX2522 and LMX2532 include a RF voltage controlled oscillator (VCO), a GPS VCO, a loop filter, and a fractional-N RF PLL based on a delta sigma modulator. In concert these blocks form a closed loop RF and GPS synthesizer system. LMX2522 supports the Korean PCS band with GPS and LMX2532 supports the Korean Cellular band with GPS.

LMX2522 and LMX2532 include an Integer-N IF PLL also. For more flexible loop filter designs, the IF PLL includes a 4-level programmable charge pump. Together with an external VCO and loop filter, LMX2522 and LMX2532 make a complete closed loop IF synthesizer system.

Serial data is transferred to the device via a three-wire MICROWIRE interface (DATA, LE, CLK).

Operating supply voltage ranges from 2.7 V to 3.3 V. LMX2502 and LMX2512 feature low current consumption: 17 mA at 2.8 V.

LMX2522 and LMX2532 are available in a 28-pin WQFN package.

Elecena nie prowadzi sprzedaży elementów elektronicznych, ani w niej nie pośredniczy.

Produkt pochodzi z oferty sklepu